Analog Devices Inc. AD4129 16-Bit-Sigma-Delta-ADCs

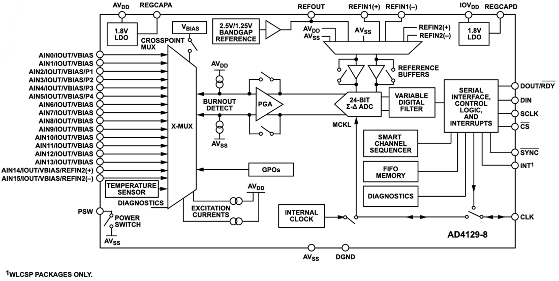
Analog Devices AD4129 16-Bit-Sigma-Delta-Analog-Digital-Wandler (ADCs) sind eine hochpräzise Messlösung mit extrem niedrigem Stromverbrauch für batteriebetriebene Applikationen mit geringer Bandbreite. Das vollständig integrierte Analog-Frontend (AFE) umfasst einen Multiplexer für bis zu 16 einendige oder acht differenzielle Eingänge, einen Verstärker mit programmierbarer Gain (PGA) und einen 16-Bit-Sigma-Delta(Σ-Δ)-ADC sowie eine On-Chip-Referenz und einen Oszillator. Das Bauteil verfügt außerdem über wählbare Filteroptionen, einen Smart-Sequenzer, eine Sensorvorspannung, Anregungsoptionen, Diagnosefunktionen und einen FIFO-Buffer (First in, First out) sowie ein Tastverhältnis.

Der AD4129 ermöglicht die Messung von Niederfrequenz-Signalen mit einer Stromaufnahme von 28,5 μA (Gain = 1) und 32,5 μA (Gain = 128) bei kontinuierlicher Umwandlung und noch niedrigeren Durchschnittsströmen, wenn eine der Tastverhältnis-Optionen verwendet wird. Der AD4129-8 wird so konfiguriert, dass er über acht differenzielle Eingänge oder 16 einendige oder pseudo-differenzielle Eingänge verfügt, die mit einem Kreuzpunkt-Multiplexer verbunden sind, bei dem jedes Eingangspaar zu einem Messkanaleingang für den PGA und ADC werden kann.

Der AD4129 von Analog Devices ist für den Betrieb mit einer analogen Einzel-Versorgungsspannung von 1,71 V bis 3,6 V ausgelegt. Bei Batterieapplikationen kann ein Betrieb auf dem 1,71-V-Pegel die Lebensdauer des Systems verlängern, da das AFE seinen Betrieb fortsetzen kann, selbst wenn die Batteriespannung nachlässt. Die digitale Versorgung kann separat erfolgen und reicht von 1,65 V bis 3,6 V. Dank des reduzierten Stromverbrauchs kann ein On-Chip-FIFO-Buffer in den Smart-Sequenzer integriert werden, um den AD4129 zu einem autonomen Messsystem zu machen, so dass der Mikrocontroller über längere Zeiträume in den Schlafzustand versetzt werden kann.

Intelligente Unterbrechungsfunktionen sorgen für mehr Vertrauen in die Fehlererkennung und Sicherheit. Aktivieren Sie ein Interrupt-Signal, das ausgelöst wird, wenn die Samples im FIFO einen vordefinierten Wert erreichen oder wenn ein vom Benutzer programmierbarer Schwellenwert überschritten wird. Ein hohes Maß an integrierten Front-End-Funktionen in Verbindung mit kleinen Gehäuseoptionen ermöglicht Lösungen für kleinere Applikationen. Der AD4129 integriert zum Beispiel eine Bandlückenreferenz mit geringer thermischer Drift und akzeptiert eine externe Differenzreferenz, die intern gepuffert werden kann.

Für sicherheitskritische Applikationen bietet der AD4129 Diagnosefunktionen wie die Erkennung offener Leitungen durch Burnout-Ströme, interne Temperatursensoren, Referenzerkennung und die Erkennung von Über- und Unterspannungen am Analogeingang. Die digitale Schnittstelle verfügt über zusätzliche Diagnosefunktionen wie zyklische Redundanzprüfungen (CRC) und serielle Schnittstellenprüfungen für eine robuste Kommunikationsverbindung.

Merkmale

  • Extrem geringer Stromverbrauch (typisch)
    • kontinuierlicher Umwandlungsmodus: 32 µA (Gain = 128)
    • Tastverhältnismodus: 5 µA (Verhältnis = 1/16)
    • Standby-Modus: 0,5 µA
    • Abschaltmodus: 0,1 µA
  • Integrierte Funktionen für Stromeinsparungen auf Systemebene
    • Stromsparendes Tastverhältnis von 1/4 oder 1/16
    • Intelligenter Sequenzer und kanalweise Konfiguration minimiert die Belastung des Host-Prozessors
    • Tief eingebettetes FIFO minimiert die Belastung des Host-Prozessors (Tiefe von 256 Samples)
    • Autonome FIFO-Interrupt-Funktionalität, Schwellenwerterkennung
    • Einzelversorgung mit bis zu 1,71 V erhöht die Batterielänge
  • Rausch: 25 nV rms bei 1,17 SPS (gain = 128) bis 48 nV/√Hz RMS
  • Bis zu 22 rauschfreie Bits (Verstärkung = 1)
  • Ausgangsdatenrate von 1,17 SPS bis 2,4 kSPS
  • Betrieb mit 1,71 V bis 3,6 V Einzelversorgung oder ±1,8 V Split-Versorgung
  • Bandlückenreferenz mit 15 ppm/°C maximaler drift
  • PGA mit Rail-to-Rail-Analogeingang
  • Anpassbare Sensorschnittstellenfunktionalität
    • Angepasster programmierbarer Erregerstrom für (RTDs)
    • On-Chip-Vorspannungsgenerator für Thermoelemente
    • Low-Side-Leistungsschalter für Brückenmesswandler
    • Erkennung eines offenen Drahtes im Sensor
  • Interner Temperatursensor und Oszillator
  • Eigen- und Systemkalibrierung
  • Flexible Filteroptionen
  • Simultane 50-Hz-/60-Hz-Unterdrückung (bei ausgewählten Filteroptionen)
  • Universal-Ausgänge
  • Diagnosefunktionalität
  • Multiplex-Eingänge mit Koppelpunkt
    • Acht differentielle/16 pseudo-differentielle Eingänge
  • 5-MHz-SPI (3-Draht oder 4-Draht)
  • Verfügbar in einem 35-Ball-WLCSP-Gehäuse von 2,74 mm × 3,6 mm (AD4129-8) oder 32-Pin-LFCSP-Gehäuse von 5 mm x 5 mm (AD4129-4)
  • -40 °C bis +105 °C Temperaturbereich

Applikationen

  • Smart-Sender
  • Drahtlose, batterie- und erntebetriebene Sensorknoten
  • Tragbare Messgeräte
  • Temperaturmessung Thermoelement, RTD, Thermistoren
  • Druckmessung: Brückenumwandler
  • Gesundheitswesen und Wearables

Funktionales Blockdiagramm

Blockdiagramm - Analog Devices Inc. AD4129 16-Bit-Sigma-Delta-ADCs
View Results ( 2 ) Page
Teilnummer Datenblatt Beschreibung
AD4129-4BCPZ-RL7 AD4129-4BCPZ-RL7 Datenblatt Analog-in-Digital-Wandler - ADC Ultra-Low Power, 4ch Sys 16 Bit S-? ADC
AD4129-8BCBZ-RL7 AD4129-8BCBZ-RL7 Datenblatt Analog-in-Digital-Wandler - ADC Ultra-Low Power Hi Integrated 16 Bit ADC
Veröffentlichungsdatum: 2023-03-20 | Aktualisiert: 2024-07-03