Analog Devices Inc. AD4190-4 Präzisions-Sigma-Delta-ADCs mit geringem Rauschpegel
Die rauscharmen Präzisions-Sigma-Delta-ADCs AD4190-4 von Analog Devices Inc. sind vollständig integrierte analoge Multikanal-Frontends mit 24 Bit und 62,5 kSPS für hochpräzise Messungapplikationen. Die Bauteile AD4190-4 enthalten einen rauscharmen 24-Bit-Σ-Δ-Analog-Digital-Wechselrichter (ADC) und können so konfiguriert werden, dass sie über vier differentielle oder acht unsymmetrische oder pseudodifferentielle Eingänge verfügen. Die integrierte rauscharme Gain gewährleistet, dass Signale mit kleiner Amplitude direkt an den ADC angeschlossen werden können. Der ADI AD4190-4 bietet einen hohen Grad an Signalkettenintegration. Diese Bauteile enthalten einen internen Referenzwert und akzeptieren zwei externe differentielle Referenzwerte, die intern gepuffert werden können. Die Kommunikation erfolgt über eine standardmäßige SPI-Schnittstelle zur einfachen Integration in mikrocontrollerbasierte Designs. Typische Applikationen umfassen Industrieautomatisierung, medizinische Instrumente, Waagen und andere Präzisionsmesssysteme, bei denen Zuverlässigkeit und Genauigkeit von entscheidender Bedeutung sind.Merkmale
- Eingangsbezogenes Rauschen: 10 nV bei 3,8 SPS, 128-fache Verstärkung
- Kreuzpunktmultiplexierte analoge Eingänge
- 4x Differenz-/8x Pseudodifferenz-Eingänge
- Integrierter PGA mit extrem geringem Rauschen, Verstärkungsbereich von 0,5 bis 128
- Ausgangsdatenrate: 3,8 SPS – 62,5 kSPS
- Flexible digitale Filter
- Sinc-Filter mit geringer Latenz
- Simultane Unterdrückung von 50Hz/60Hz
- Bandlückenreferenz mit typischer Drift von 5 ppm/°C
- Interner Oszillator
- Netzteile
- analog: 4,75 V – 5,25 V oder ±2,5 V
- digital: 1,7 V – 5,25 V
- Abgestimmte programmierbare Erregungsstromquellen
- Low-Side-Leistungsschalter
- On-Chip-Vorspannungsgenerator
- Interner Temperatursensor
- 4x universell einsetzbare Ein- und Ausgänge
- Interne und System-Kalibrierung
- Sensor-Burnout-Erkennung
- Diagnosefunktionen
- Konfiguration einzelner Kanäle
- Flexibler automatischer Kanalsequenzer
- 3- oder 4-Draht-Seriellschnittstelle (Schmitt-Trigger auf SCLK) – SPI-, QSPI-, MICROWIRE- und DSP-kompatibel
- TDM-kompatible Schnittstelle für Datenstreaming
- Temperaturbereiche
- -40 °C – +105 °C, optimal für Höchstleistungen
- -40 °C – +125 °C, funktionsfähig
- 32-poliges LFCSP-Gehäuse, 4 mm x 6 mm
- Feuchteempfindlichkeit (MSL) 3
Applikationen
- Industrie-Prozesssteuerung (SPS-/DCS-Module)
- Temperaturmessung
- Druckmessung
- Messgeräte für Medizin und Wissenschaft
- Chromatografie
- Umgebungsüberwachung
- Elektrische Prüfung und Messung
- Messgeräte
- Waagschalen
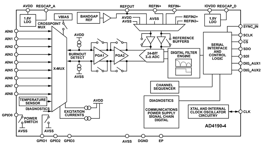
Funktionales Blockdiagramm
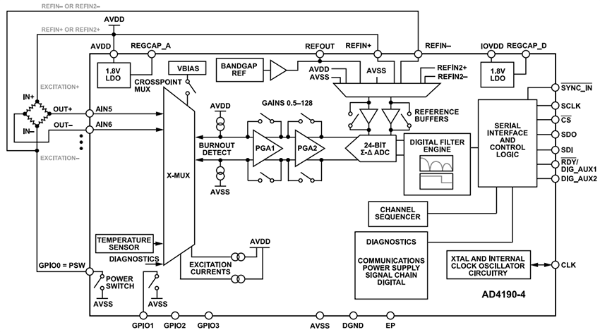
Waage-Anwendungsschaltung
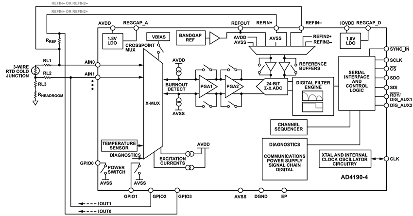
3-Draht-RTD-Applikations-Schaltung
Veröffentlichungsdatum: 2025-12-01
| Aktualisiert: 2026-01-11
