Analog Devices Inc. AD5778R Zweikanaliger 6-Bit-Stromquellen-DAC
Der zweikanalige 6-Bit-Stromquellen-Digital-Analog-Wandler (DAC) AD5778R von Analog Devices bietet zwei hochkompatible Stromquellenausgänge mit einem garantierten Dropout von 1 V bei 200 mA. Das Bauteil unterstützt Lastspannungen von bis zu 32 V. Es gibt acht Strombereiche, die pro Kanal programmierbar sind, mit Skalenendwert-Ausgängen von bis zu 300 mA. Zusätzlich können die Kanäle parallelgeschaltet werden, um extrem feine Anpassungen großer Ströme oder kombinierte Ausgänge von bis zu 600 mA zu ermöglichen.Für jeden Ausgangskanal ist ein dedizierter Versorgungspin vorgesehen. Jeder Kanal kann zwischen 2,85 V und 33 V betrieben werden, und interne Schalter ermöglichen es, jeden Ausgang an die optionale negative Versorgung zu ziehen. Der AD5778R von Analog Devices enthält eine integrierte Präzisionsreferenz von 1,25 V (maximal 10 ppm/°C) mit der Option, eine externe Referenz zu verwenden. Die serielle SPI-/Microwire-kompatible 3-Draht-Schnittstelle arbeitet mit Taktraten von bis zu 50 MHz bei Logikpegeln von nur 1,71 V.
Merkmale
- Pro Kanal programmierbare Ausgangsbereiche: 300 mA, 200 mA, 100 mA, 50 mA, 25 mA, 12,5 mA, 6,25 mA und 3,125 mA
- Flexible Versorgungsspannung von 2,85 V bis 33 V
- Dropout 1 V garantiert
- Separate Spannungsversorgung pro Ausgangskanal
- Interne Umschaltung auf die optionale negative Versorgung
- Volle 16-Bit-Auflösung in allen Bereichen
- Garantierter Betrieb von -40 °C bis 125 °C
- Präzise interne Referenz (maximal 10 ppm/°C) oder externer Referenzeingang
- Analoge Mux-Überwachung, Spannungen und Ströme
- A/B-Umschaltung über SPI oder dedizierten Pin
- 1,8 V bis 5 V SPI
- 32-poliges QFN-Gehäuse (5 mm × 5 mm)
Applikationen
- Einstellbare Laser
- Optische Halbleiterverstärker
- Widerstandsfähige Heizgeräte
- Strommodus-Vorspannung
- Proportionalmagnetantrieb
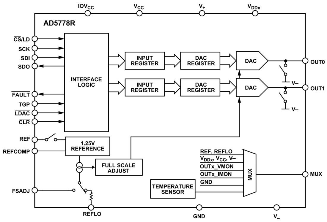
Funktionales Blockdiagramm
Veröffentlichungsdatum: 2024-08-07
| Aktualisiert: 2024-09-04
