Analog Devices Inc. AD5940/AD5941 Analog-Frontend
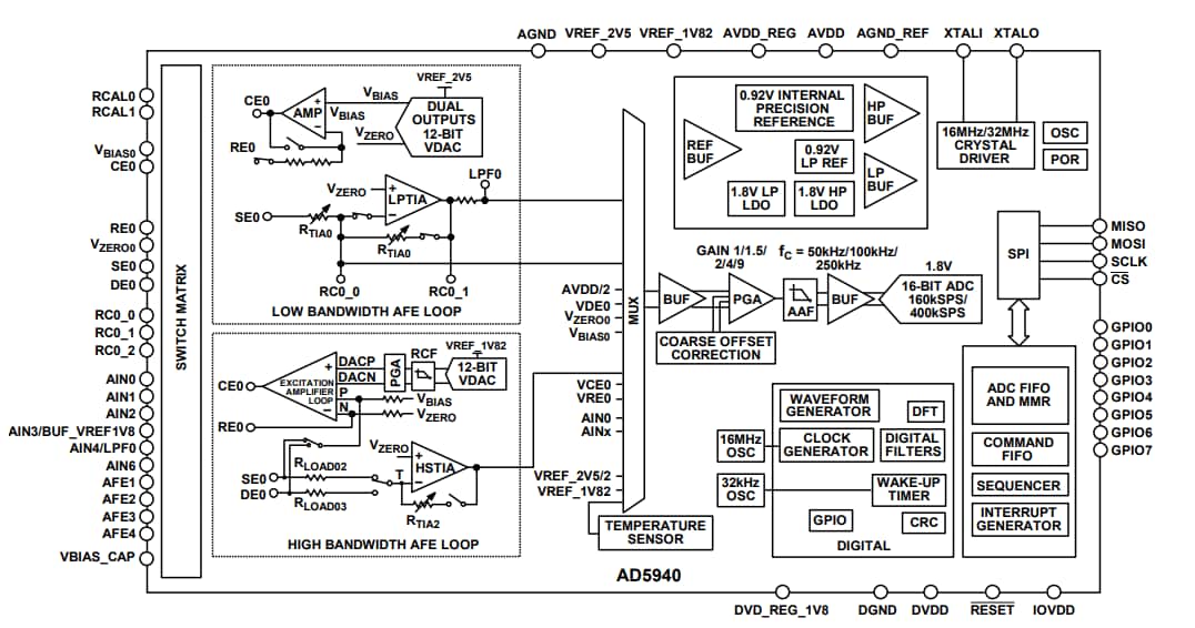
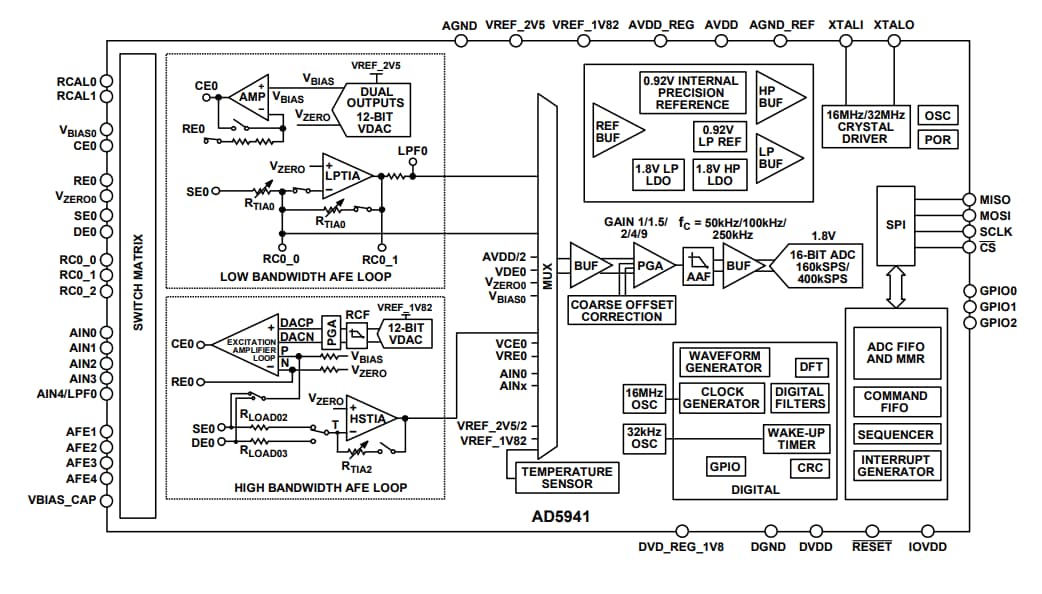
Das AD5940/5941 hochpräzise elektrochemische Analog-Frontend (AFE) von Analog Devices mit geringem Stromverbrauch ist für tragbare Applikationen ausgelegt, die elektrochemisch-basierte Messtechniken mit hoher Genauigkeit erfordern. Das AD5940/AD5941 kann Spannungs-, Strom- und Impedanzmessungen durchführen und zur Messung der Haut- und Körperimpedanz sowie zur Erkennung von elektrochemischen Gasen verwendet werden. Dieses Bauteil besteht aus zwei Erregungsschleifen mit hoher Genauigkeit und einem gängigen Messkanal und ermöglicht eine große Auswahl von Sensormessungen unter Testbedingungen.Der AD5940/5941 Messkanal verfügt über einen 16-Bit-Analog-Digital-Wandler (ADC) mit sukzessivem 800-kS/s-Mehrkanal-Approximationsregister (SAR) mit Eingangsbuffern, einem eingebauten Antialias-Filter und einem programmierbaren Gain-Verstärker (PGA). Ein Eingangsmultiplexer vor dem ADC ermöglicht dem Benutzer die Auswahl eines Eingangskanal für die Messung. Diese Eingangskanäle umfassen mehrere externe Stromeingänge, externe Spannungseingänge und interne Kanäle. Die internen Kanäle ermöglichen Diagnosemessungen der internen Versorgungsspannungen, der Chiptemperatur und der Referenzspannungen.
Der AD5940 wird mit einer Versorgungsspannung von 2,8 V bis 3,6 V betrieben und ist für einen Temperaturbereich von -40 °C bis +85 °C spezifiziert. Der AD5940 ist in einem 56-Pin-Wafer-Level-Chip-Scale-Gehäuse (WLCSP) von 3,6 mm × 4,2 mm untergebracht.
Der AD5941 ist in einem 28-Pin-Lead-Frame-Chip-Scale-Gehäuse (LFCSP) erhältlich.
Merkmale
- Analogeingang:
- 16-Bit-ADC mit 800 kS/s
- Spannungs-, Strom- und Impedanzfunktion
- Interne und externe Strom- und Spannungskanäle
- Schaltermatrix mit extrem niedrigem Ableitstrom und Eingangsmultiplexer
- Eingangsbuffer und Verstärkerspannungs-DACs mit programmierbarer Gain
- Leistung:
- Power-On-Reset
- Ruhemodus mit stromsparendem DAC und einem hochgefahrenen Potentiostat-Verstärker zur Erhaltung der Sensor-Vorspannung
- Verstärker, Beschleuniger und Referenzen:
- 1 stromsparender, rauscharmer Potentiostat-Verstärker, der sich für die Potentiostat-Vorspannung in elektrochemischen Sensoren eignet
- 1 rauscharmer, stromsparender Transimpedanz-TIA, der sich für die Messung des Stromausgangs eignet
- Programmierbare Last- und Gain-Widerstände für den Sensorausgang
- Analoge Hardwarebeschleuniger
- Digitaler Wellenform-Generator
- Empfangsfilter
- Komplexe Impedanzmessengine (DFT)
Applikationen
- Elektrochemische Messungen
- Elektrochemische Gassensoren
- Potentiostat/Amperometrik/Voltammetrie/Zyklovoltammetrie
- Bioimpedanz
- Hautimpedanz
- Körperimpedanz
- Kontinuierliche Blutzuckerüberwachung
- Batterieimpedanz
Technische Daten
- Analoger Eingang, Verstärker, Beschleuniger und Referenzen:
- 16-Bit-ADC mit 800 kS/s
- Dual-Ausgangsspannungs-DAC mit einer Ausgangsspannung von 0,2 V bis 2,4 V
- Ausgang von ±607 mV zum Sensor
- 50 pA bis 3 mA Bereich
- Interne Bezugsspannungsquellen von 2,5 V und 1,82 V
- Extrem stromsparender Potentiostatkanal von 6,5 µA
- Leistung:
- Versorgung: 2,8 V bis 3,6 V
- Mit Ein-/Ausgang von 1,82 V kompatibel
- Gehäuse- und Temperaturbereich:
- 56-Ball-WLCSP
- Abmessungen: 3,6 mm x 4,2 mm
- Betriebstemperaturbereich: -40 °C bis 85 °C
Vereinfachtes Blockdiagramm
WEITERE RESSOURCEN
Flüssigkeitsmessungen – von Wasser zu Blut
Dieser Artikel konzentriert sich auf Flüssigkeitsmessungen mit medizinischen Verwendungen und beschreibt damit die einzelnen Applikationen sowie die Vielseitigkeit von Impedanzmessungen.
Mehr erfahren
- Bioelektrische Impedanzanalyse - Artikel
- Applikationshinweis zur Optimierung des AD5940 für elektrochemische Messungen
- Applikationshinweis zur Implementierung der AD5940 und AD8233 in eine vollständige bioelektrische Systemapplikation
Zustandsbasierte Überwachung des menschlichen Körpers
Mit Fortschritten in der Technologie wird die Überwachung der Vitalparameter in verschiedenen Branchen und während unseres täglichen Lebens immer häufiger. Unabhängig davon, ob sie zur Behandlung oder Prävention eingesetzt werden, erfordern solche gesundheitsbezogenen Lösungen eine zuverlässige und robuste Technologie.
Mehr erfahren
