Analog Devices Inc. AD9083 Analog-Digital- Wechselrichter

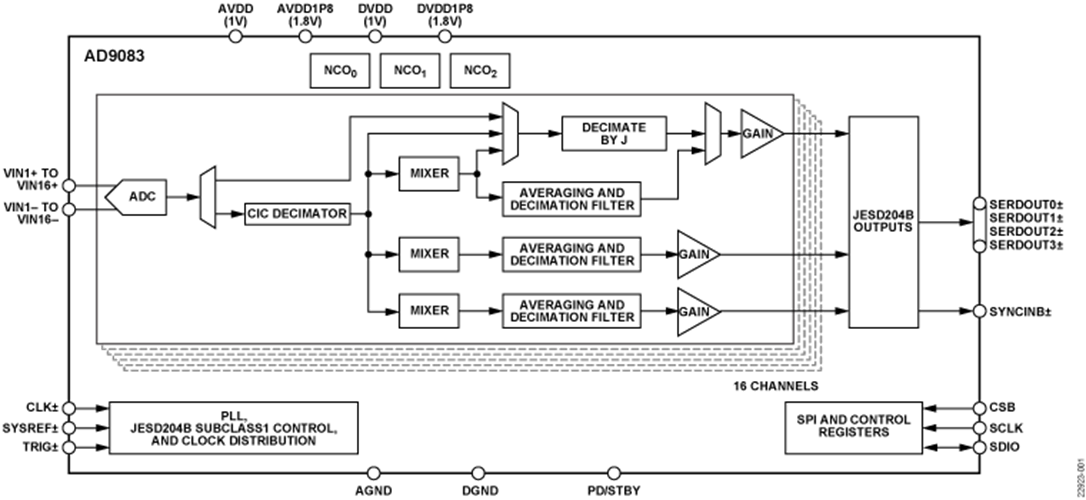
Analog Devices Inc.   Der AD9083 Analog-Digital-Wechselrichter ist ein 16-Kanal, 125MHz Bandbreite, zeitkontinuierlicher Σ - Δ (CTSD) ADC. Der AD9083 verfügt über einen programmierbaren, einpoligen Antialiasing-Filter und einen Endenabschluss-Widerstand auf dem Chip. Es ist auf geringe Leistung, geringe Größe und einfache Handhabung ausgelegt. Die 16® ADC-Cores verfügen über eine Erstauftrags, CTSD Modulator-Architektur mit einer integrierten Hintergrund Nichtlinearitätskorrigierbaren Logikschaltung, sowie selbst-unterdrückenden Schwankungen. Jede ADC verfügt über einen breiten, Bandbreite,die eine Vielzahl von dem Benutzer wählbaren Eingangs-Bereichen unterstützt. Eine integrierte Spannungsreferenz erleichtert Design-Überlegungen.

Merkmale

  • 1,0 V und 1,8 V Versorgungsbetrieb
  • 125 MHz nutzbare analoge Eingangs-Bandbreite
  • Abtastrate von bis zu 2 GS/s
  • Spektrale Rauschstörungs-Dichte in einer 100 MHz Bandbreite = -145 dBFS/Hz, 2,0 GSPS-Kodierung
  • SRV = 66 dBFS in 100 MHz Bandbreite 2,0 GSPS-Kodierung
  • SRV = 82 dBFS in 15,625 MHz Bandbreite, 2,0 GSPS-Kodierung
  • SFDR = 60 dBc in 100 MHz Bandbreite, 2,0 GSPS-Kodierung
  • SFDR = 80dBc in 15,625 MHz Bandbreite, 2,0 GSPS-Kodierung
  • Groß-Signal Schwankungen
  • 90mW Gesamtleistung pro Kanal bei 2,0 GSPS (Standardeinstellungen), 35 mW Leistung pro Kanal (min.)
  • 0,5 V p-p bis 2 V p-p flexibler differentieller Eingabebereich
  • 90 dB-Kanal, Nebensignaleffekt 2,0 GSPS-Kodierung
  • Digitaler Prozessor
    • CIC Dezimierungs-Filter
    • Programmierbarer DDC
    • Datentakt
  • JESD204B Unterklasse 1 kodierte Ausgänge
    • Unterstützt bis zu 16Gbps/ Spur
    • Flexible Musterdatenverarbeitung
    • Flexible JESD204B Spurkonfigurationen
  • Serielle Anschluss-Steuerung

Applikationen

  • Millimeterwellen-Bildgebung
  • Elektronische Strahlformung und Arrays phasenweise
  • Mehrkanal Breitband-Empfänger
  • Elektronische Unterstützungsmaßnahmen

Blockdiagramm

Blockdiagramm - Analog Devices Inc. AD9083 Analog-Digital- Wechselrichter

Verbesserte Millimeterwellen-Scanner der nächsten Generation mit Edge Technologie-Verarbeitung

Erfahren Sie, wie die mmWellen-Technologie herkömmliche Metalldetektoren übertrifft und wie ein Chipsatz mit effizienter Datenverwaltung durch die Edge-Verarbeitung, die Entwicklung fortschrittlicher Walkthrough-Sicherheits-Scanningsysteme ermöglicht.

Mehr erfahren

Veröffentlichungsdatum: 2021-01-27 | Aktualisiert: 2023-04-17