Analog Devices Inc. ADEMA124/ADEMA127 24-Bit-Sigma-Delta-ADCs
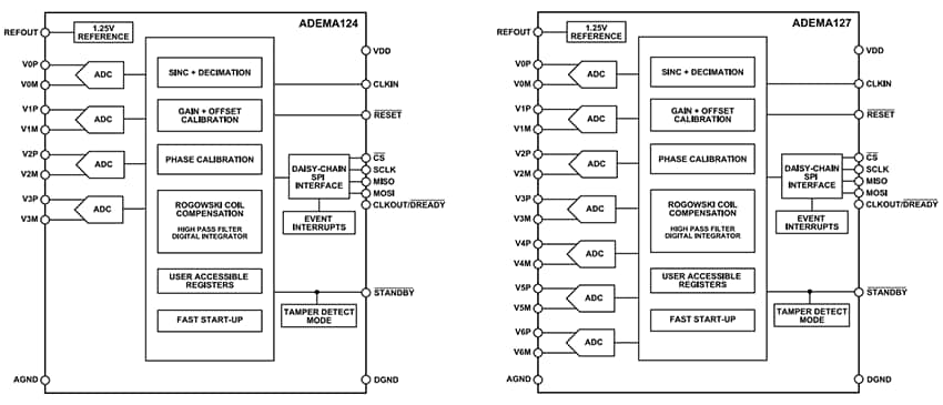
4-Kanal- und 7-Kanal-Sigma-Delta-Analog-Digital-Wandler (ADCs) mit simultaner 24-Bit-Abtastung ADEMA124/ADEMA127 von Analog Devices sind ausgelegt für Mehrphasen- und Split-Phasen-Energiezählapplikationen. Diese Bauteile sind kompatibel mit Spannungsteilern, Shunts und isolierten Stromsensoren wie Stromwandlern und Rogowski-Spulen. Jeder ADC-Kanal verfügt über unabhängige Hardware und DSP-Filter, die eine Gain-, Phasen- und Offsetkompensation ermöglichen. Darüber hinaus verfügen die Wandler über spezielle DSP-Fähigkeiten, darunter einen Integrator und einen Hochpassfilter zweiter Ordnung, durch die eine Implementierung von Rogowski-Sensoren vereinfacht wird. Es werden voreingestellte DSP-Filterkoeffizienten für gängige Anwendungsfälle bereitgestellt, die an spezifische Anforderungen angepasst werden können.Die Bauteile ADEMA124 und ADEMA127 von ADI verfügen über Sinc-Kompensation, eine Tiefpassfilterung und eine DSP-Halbabtastung (Faktor 2) und erweitern dadurch die nutzbare analoge Bandbreite bei einer gegebenen Ausgangsabtastrate um bis zu 70 % Dank dieser hohen Bandbreite sind diese Bauelemente für Messgeräte der Stromqualitätsklassen A und S gemäß IEC 61000-4-30 geeignet. Diese ADCs unterstützen zudem die Einhaltung von Wirkleistungsnormen wie u. a. IEC 62053-21, IEC 62053-22, OIML R46 und ANSI C12.1 sowie Blindleistungsnormen wie u. a. IEC 62053-23, IEC 62053-24 und EN 50470-3. Mit einer schnellen Startzeit von nur 0,5 ms (typisch) sind die ADCs ADEMA124 und ADEMA127 bestens für Leistungsschalter und Schutzrelais, insbesondere in Verbindung mit Rogowski-Sensoren, geeignet.
Für den Konfigurations- und Datenabruf bieten die ADCs eine flexible SPI-Schnittstelle mit Daisy-Chain-Fähigkeit, wodurch mehrere ADCs über einen einzigen SPI-Anschluss bedient werden können und die Pinanzahl auf dem Host-Mikrocontroller reduziert wird. Die Bauelemente sind zudem mit den isolierten ADE9112/ADE9113 ADCs Daisy-Chain-kompatibel. Um Datensicherheit zu gewährleisten, werden unabhängige zyklische Redundanzprüfungen (ZRP) implementiert, um Fehler in der SPI-Kommunikation zu erkennen und unbeabsichtigte Änderungen an Konfigurationsregistern zu verhindern.
Merkmale
- Hochleistungs-Σ-Δ-ADCs mit 4 Kanälen (ADEMA124) oder 7 Kanälen (ADEMA127) und simultaner Abtastung
- SNR bis zu 105 dB
- Programmierbare Abtastrate bis zu 64 kSPS
- Großer Eingangsspannungsbereich von ±1,2 VPK, 848 mV RMS im Vollbereich
- Hohe Impedanz, differentielle Eingänge
- Typischer Temperaturkoeffizient der internen Referenzspannung: 5 ppm/°C
- Integrierter Digitalintegrator und Hochpassfilter zur Verwendung mit Rogowski-Spulen
- Schneller Start mit ersten Proben in 0,5 ms, sobald die Stromversorgung steht
- Manipulationserkennungsmodus, geringer Stromverbrauch für Batterie-Backup
- 4-Draht-SPI mit bidirektionalem CRC und Daisy-Chain-Funktionalität
- Einfache Synchronisation mehrerer ADC-Geräte
- Verstärkungs-, Phasen- und Offset-Kompensation für jeden Kanal
- Eindeutiges, SPI-lesbares Teile-ID-Register
- Stromverbrauch von nur 18 mW mit 7-Kanal-ADC
- Breiter Temperaturbereich: -40 °C – +125 °C
- Kompaktes 32-poliges LFCSP-Gehäuse, 5 mm x 5 mm
- Feuchteempfindlichkeit (MSL) 3
Applikationen
- Mehrphasen-Energiezähler
- Einphasen-Dreileiternetz-Energiezähler
- Überwachung von Abzweigstromkreisen
- Intelligente Stromverteilungsgeräte
- Überwachung der Stromqualität
- Leistungsschalter
- Schutz-Relais
- Versorgungseinrichtungen für Elektrofahrzeuge
Ressourcen
- ADEMA124/ADEMA127 Kalibrierungsleitfaden
- Applikationshinweis AN-2625– Design mit mehreren ADE-ADCs
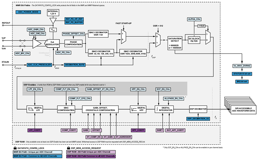
Funktionsblockdiagramme
Datenpfad
