Analog Devices Inc. ADF4382x Fraktional-N-Phasenregelschleifen (PLLs)
Die Analog Devices ADF4382x Fractional-N-Phasenregelschleife (PLL) ist eine leistungsstarke Fraktional-N-Phasenregelschleife (PLL) mit extrem geringem Jitter. Sie verfügt über einen integrierten spannungsgesteuerten Oszillator (VCO), der sich ideal für die lokale Oszillatorerzeugung (LO) für 5G oder Datenwandler-Taktapplikationen eignet. Die leistungsstarke PLL verfügt über eine Gütezahl von -239 dBc/Hz, ein geringes 1/f-Rauschen und eine hohe PFD-Frequenz von 625 MHz im Integer-Modus, wodurch ein extrem geringes In-Band-Rauschen und ein integrierter Jitter erreicht werden kann. Der ADF4382x kann Frequenzen in einem grundlegenden Oktavbereich von 11,5 GHz bis 21 GHz erzeugen, wodurch die Notwendigkeit von subharmonischen Filtern entfällt. Die Division durch zwei und vier Ausgangsteiler auf dem ADF4382x ermöglicht die Erzeugung von Frequenzen von 5,75 GHz bis 10,5 GHz bzw. 2,875 GHz bis 5,25 GHz.Die ADF4382x von Analog Devices richtet ihren Ausgang automatisch an die Eingangsreferenzflanke für mehrere Datenwandler-Taktapplikationen aus, indem der Ausgangsteiler in die PLL-Rückkopplungsschleife integriert wird. Eine programmierbare Referenz auf die Ausgangsverzögerung mit einer Auflösung von <1 ps wird für Applikationen bereitgestellt, die eine deterministische Verzögerung oder eine Verzögerungsanpassungsfunktion erfordern. Die Referenz auf die Ausgangsverzögerungsanpassung über mehrere Bauteile und Übertemperatur ermöglicht eine vorhersehbare und präzise Multichip-Takt- und Systemreferenzausrichtung (SYSREF). Das ADF4382x Blockdiagramm vereinfacht die Entwicklungszeit mit einer einfachen seriellen Peripherieschnittstellen-Registerzuordnung (SPI), einer wiederholbaren Multichip-Taktausrichtung und der Begrenzung unerwünschter Taktstörungen, indem eine Off-Chip-SYSREF-Erzeugung ermöglicht wird.
Merkmale
- 687,5 MHz bis 22 GHz Ausgangsfrequenzbereich
- Integrierter RMS-Jitter bei 20 GHz
- 20 fs (Integrationsbandbreite: 100 Hz bis 100 MHz)
- 31 fs (ADC SNR-Methode)
- Schnelle <1 μs VCO-Kalibrierungszeit
- <100 μs VCO-Autokalibrierungszeit
- Phasengrundrauschen von -156dBc/Hz bei 20 GHz
- PLL-Spezifikationen
- -239dBc/Hz normalisiertes Inband-Phasenrauschen
- -287dBc/Hz normiertes 1/f-Phasengrundrauschen
- 625 MHz maximale Phasen-/Frequenzdetektor-Eingangsfrequenz
- 4,5 GHz Referenzeingangsfrequenz
- Typische Störungs-fPFD
- Referenz auf die Spezifikationen der Ausgangsverzögerung
- 0,06ps/°C Temperaturkoeffizient der Laufzeitverzögerung
- <1 ps Anpassungsschrittgröße
- Multichip-Ausgangsphasenausrichtung
- Stromversorgungen: 3,3 V und 5 V
- ADIsimPLL™ Schleifenfilter-Designtool-Unterstützung
- 7 mm × 7 mm LGA-Gehäuse mit 48 Anschlüssen
- -40 °C bis +105 °C Betriebstemperaturbereich
Applikationen
- Hochleistungs-Datenwandler-Taktung
- Drahtlose Infrastruktur (MC-GSM, 5G, 6G)
- Test und Messung
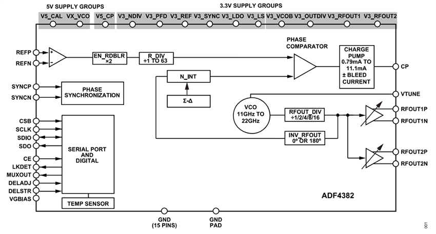
Funktionales Blockdiagramm
