Analog Devices Inc. ADIN1110 10BASE-T1L Ethernet-MAC-PHY mit geringem Stromverbrauch
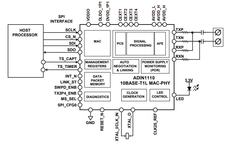
Die Analog Devices Inc. ADIN1110 10BASE-T1L Ethernet-MAC-PHY mit geringem Stromverbrauch integriert einen Ethernet-PHY-Core mit einem MAC und allen damit verbundenen analogen Schaltungen sowie eine Eingangs- und Ausgangs-Taktpufferung. Der ADIN1110 verfügt über eine einzelne Stromversorgungsschiene von 1,8 V oder 3,3 V und ist für Industrie-Ethernet-Applikationen ausgelegt.Die ADIN1110 stromsparende 10BASE-T1L-Ethernet-MAC-PHY von Analog Devices bietet programmierbare Sendepegel, externe Anschlusswiderstände und unabhängige Rx/Tx-Pins, wodurch das Bauteil für intrinsische Sicherheitsapplikationen ermöglicht wird. Der ADIN1110 verfügt über eine integrierte Spannungsversorgungsüberwachung und eine Einschalt-Reset-Schaltung zur Verbesserung der Robustheit auf Systemebene.
Die Ethernet-MAC-PHY bietet eine 4-Draht-SPI-Schnittstelle für die Kommunikation zwischen dem MAC und dem Host-Prozessor. Der ADIN1110 ist in einem 6 mm x 6 mm großen 40-poligen Gehäuse untergebracht.
Merkmale
- Auto-Negotiationsfunktion
- Unterstützt eigensichere Applikationen
- Externe Anschlusswiderstände
- Separate Rx/Tx-Pins
- Integrierte MAC mit SPI-Schnittstelle
- SPI-Schnittstelle unterstützt 10 MB/Sek. Vollduplex
- Unterstützt Open Alliance 10BASE-T1x serielle MAC-PHY
- Schnittstelle
- MDIO-Speicherkarte über SPI zugänglich
- On-Chip-FIFOs: 20 kB Empfang, 8 kB Übertragung
- Cut-Through- oder Store-and-Forward-Verfahren
- Rx-Warteschlangen mit hoher und niedriger Priorität
- Unterstützt IEEE 1588 Zeitstempel
- Statistikzähler
- Unterstützt 16 MAC-Adressen für Rahmenfilterung
- Konform mit 10BASE-T1L IEEE® Std 802.3cg-2019TM
- Unterstützt Sendepegel von 1,0 V pk-pk und 2,4 V pk-pk
- Nicht verwaltete Konfiguration mit Pin-Strapping, einschließlich:
- Master-/Slave-Auswahl
- Sendeamplitude
- Quarzoszillator von 25 MHz/externer Taktgebereingang von 25 MHz
- Einzelversorgungsbetrieb (vom Modus abhängig): 3,3 V oder 1,8 V
- Kabelreichweite
- Mehr als 1.700 Meter mit 1,0 V pk-pk
- Mehr als 1.700 Meter mit 2,4 V pk-pk
- Geringer Stromverbrauch – Dual-Versorgung von 42 mW (typisch)
- Link-LED
- Gehäuse: 40-Pin-LFCSP von 6 mm × 6 mm
- Großer Betriebstemperaturbereich: -40 °C bis +105 °C
Applikationen
- Prozessleittechnik
- Fabrikautomatisierung
- Gebäudeautomatisierung
Weitere Ressourcen
Funktionales Blockdiagramm
Artikel
Wie ein 10BASE-T1L MAC-PHY die stromsparende Prozessor-Ethernet-Konnektivität vereinfacht
Ein 10-Mb-Ethernet-Physical-Layer (10BASE-T1L) in Kombination mit einer Stromversorgung (Engineered Power/PoDL/SPoE) auf zwei Drähten, bis zu 1 km, wird neue Arten von mit Ethernet verbundenen Geräten ermöglichen, die hochwertigere Erkenntnisse generieren, die nun über ein konvertiertes IT/OT-Ethernet-Netzwerk besser zugänglich sind.
Entwicklung eines 10BASE-T1L Single-Pair-Ethernet-Zustandsüberwachungs-Schwingungssensors
Dieser Artikel beschreibt, wie man eine winzige, gemeinsam genutzte Stromversorgungs- und Datenschnittstelle (PoDL) für einen CbM-Sensor entwickelt, einschließlich des Stromversorgungsdesigns, des mechanischen Designs, der Auswahl des MEMS-Sensors und der Software für eine komplette Sensorlösung.
