Analog Devices Inc. ADIN2299 RapID-Plattform-Gen-2-Netzwerkschnittstelle
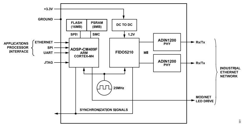
Die Analog Devices Inc. ADIN2299 RapID-Plattform-Gen-2-Netzwerkschnittstelle wird zur Verwaltung des Industrieprotokolls und des Netzwerkverkehrs für einen Applikationsprozessor verwendet. Das Modul enthält alles, was für die Teilnahme an einem Ether-CAT-, PROFINET® Echtzeit(RT)- und isochronen Echtzeit(IRT)-, EtherNet/IP-Netzwerk erforderlich ist. Dazu gehören ein Kommunikations-Controller, Protokollstapel, Flash, RAM, Nachlaufregler und Physical Layer (PHY). Ein Applikationsprozessor verbindet sich über einen asynchronen Universal-Empfänger-Sender (UART), eine serielle Peripherieschnittstelle (SPI) oder eine Ethernet-Schnittstelle.Das ADIN2299 RapID Platform Gen 2 Network Interface von Analog Devices Inc. wird in einem 194-Ball Chip Scale Package Ball Grid Array (CSP_BGA) angeboten.
Merkmale
- Konfigurierbare Industrieprotokoll-Unterstützung
- PROFINET RT (Klasse B)
- PROFINET IRT (Klasse C): Demnächst verfügbar
- EtherNet/IP mit DLR
- EtherCAT
- Alle Protokolle vorzertifiziert
- Konfigurierbare Applikationsprozessor-Schnittstelle
- UART: 115.200 b/s bis 1.000.000 b/s
- Ethernet bei 10 MBit/s oder 100 MBit/s
- SPI-Nachfolger: 10 MHz maximaler Takt
- I2C, QSPI und CAN: zukünftige Option
- Industrial Ethernet-Schnittstellen-konform mit IEEE 802.3, 10Base- oder 100Base-Sende-Halb- und Vollduplex
- Einzelne 3,3-V-Stromversorgung, 840 mW
- Zykluszeit bis hinunter zu 1 ms (Zykluszeiten variieren je nach Protokoll, Link-Typ und Applikationsdaten)
- 194-Ball-Chip-Scale-Gehäuse mit BGA-Formfaktor
- RoHS-3-konform
- Industrie-Temperaturbereich: -40 °C bis +85 °C
Applikationen
- Fabrikautomatisierung und Prozesssteuerung
- Bewegungssteuerung
- Gebäudeautomatisierung
- Transport
Blockdiagramm
Gehäuseabmessungen
Veröffentlichungsdatum: 2022-06-01
| Aktualisiert: 2022-09-15
