Analog Devices Inc. ADPD4200 Multimodales Sensor-Frontend
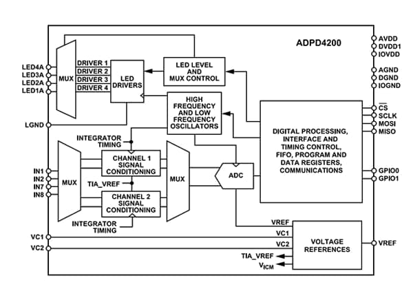
Das Sensor-Frontend ADPD4200 von Analog Devices Inc. arbeitet als komplettes photometrisches Sensor Front End, das bis zu vier Leuchtdioden (LEDs) stimuliert. Dieses Sensor-Frontend misst auch das Rücksignal auf bis zu vier separaten Stromeingängen. Das ADPD4200 Sensor-Frontend ist mit zwölf Zeitschlitzen ausgestattet, die zwölf separate Messungen pro Abtastperiode ermöglichen. Dieser Sensor verfügt über einen Steuerschaltkreis mit flexibler LED-Signalisierung und synchroner Erkennung. Das ADPD4200 Sensor-Frontend verwendet einen 1,8-V-Analogkern und einen 1,8-V- oder 3,3-V-kompatiblen digitalen Ein-/Ausgang (E/A). Dieser Sensor verfügt über eine Zweikanal-Verarbeitung mit gleichzeitiger Abtastung, eine digitale Filterung auf dem Chip, einen LED-Spitzenantriebsstrom von 400 mA und eine FIFO-Größe von 512 Byte. Das Sensor-Frontend ADPD4200 bietet zahlreiche Anwendungsmöglichkeiten in tragbaren Gesundheits- und Fitnessmonitoren, in der industriellen Überwachung und in Geräten zur Überwachung von Patienten zu Hause.Merkmale
- Multimodales Analog-Frontend
- 4 Eingangskanäle verfügen über mehrere Betriebsarten:
- PPG, EKG
- EDA
- Impedanz
- Temperatur
- Zweikanal-Verarbeitung mit simultaner Abtastung
- 12 programmierbare Zeitfenster für synchronisierte Sensormessungen
- Flexibles Eingangs-Multiplexing zur Unterstützung von differentiellen und einendigen Sensormessungen
- Unterstützt SPI-Kommunikation
- 512-Byte-FIFO-Größe
- 4 LED drivers, which can be driven simultaneously
- Flexible Abtastrate von 0,004 Hz bis 9 kHz durch interne Oszillatoren
- Digitale On-Chip-Filterung
- 105 dB Signal-Rausch-Verhältnis (100 kΩ TIA-Verstärkung, 100 Hz ODR, 80 Impulse, CPD= 70pF und 0,5 Hz bis 10 Hz Bandbreite)
- Umgebungslichtunterdrückung: 60 dB bis zu 1 kHz
- LED-Spitzenantriebsstrom insgesamt: 400 mA
- 30 μW Gesamtsystem-Verlustleistung
- Kontinuierliche PPG-Messung bei 75 dB SNR, 25 Hz ODR und 100 nA/mA CTR
Applikationen
- Wearables für die Gesundheits- und Fitness-Überwachung:
- Herzfrequenzmessgeräte (HRMs)
- Herzfrequenzvariabilität (HRV)
- Schätzung von Stress und Blutdruck
- SpO2
- Flüssigkeitszufuhr
- Körperbau
- Industrieüberwachung:
- CO
- CO2
- Rauch
- Aerosol-Erkennung
- Patientenüberwachung zu Hause
Funktionales Blockdiagramm
Veröffentlichungsdatum: 2022-07-18
| Aktualisiert: 2022-10-10
