Analog Devices Inc. ADRF5023 Silizium-SPDT-Schalter
Analog Devices Inc. ADRF5023 Silizium-SPDT-Schalter sind nicht reflektierende, einpolige Umschalter (SPDT), die im Siliziumverfahren hergestellt werden. Der ADRF5023 bietet einen Betriebsbereich von 9kHz bis 45GHz mit einer typischen Einfügungsdämpfung von 1,7dB und einer Isolation von 42dB. Die Schalter bieten eine HF-Eingangsleistung von 30 dBm für den Durchgangsweg, 24 dBm für den abgeschlossenen Weg und 30 dBm für die Hot-Switching-Funktion am gemeinsamen HF-Anschluss. Die Bauteile benötigen eine positive Versorgungsspannung von 3,3 V und eine negative Versorgungsspannung von -3,3 V. Der ADRF5023 verwendet komplementäre Metalloxid-Halbleiter (CMOS)-/Niederspannungstransistor-Transistor-Logik (LVTTL)-kompatible Steuerungen.Die Silizium-SPDT-Schalter ADRF5023 von ADI arbeiten auch mit einer einzigen positiven Versorgungsspannung (VDD1), während die negative Versorgungsspannung (VSS) mit der Masse verbunden ist. Die Kleinsignalleistung bleibt in diesem Betriebszustand erhalten, während die Schalteigenschaften, die Linearität und die Belastbarkeit herabgesetzt sind.
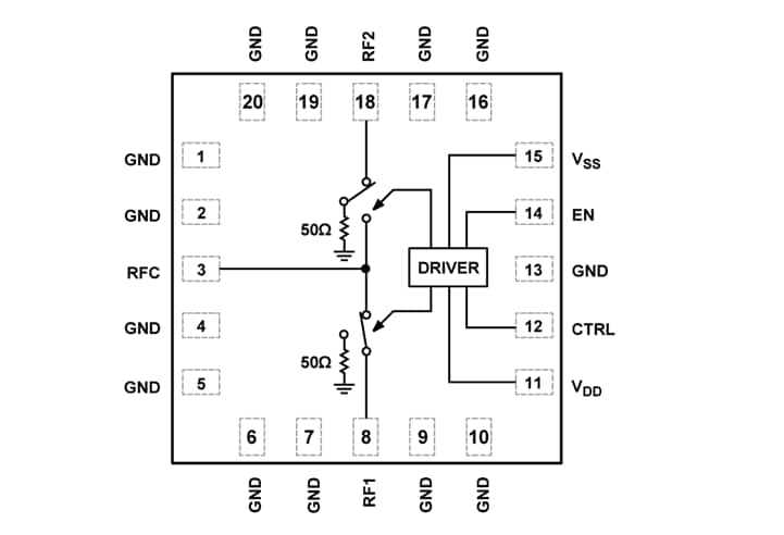
Der ADRF5023 ist in einem 20-poligen, 3,0 mm x 3,0 mm großen, RoHS-konformen LGA-Gehäuse (Land Grid Array) untergebracht und arbeitet im Temperaturbereich von -40°C bis +105°C.
Merkmale
- Ultra-Breitband-Frequenzbereich: 9 kHz bis 45 GHz
- Nichtreflektierendes Design
- Geringe Einfügungsdämpfung
- 0,9 dB bis 18 GHz (typisch)
- 1,6 dB bis 40 GHz (typisch)
- 1,7 dB bis 45 GHz (typisch)
- Hohe Belastbarkeit bei TCASE = +85°C
- 30 dBm durchgängiger Pfad
- Terminierter Pfad: 24 dBm
- 30dBm Hot-Schaltung (RFC-Anschluss)
- Hohe Isolierung von 42 dB (typisch) bis 45 GHz
- Hohe Eingangslinearität
- 0,1 dB Leistungskompression (P0,1 dB) von 31 dBm
- Schnittpunkt der dritten Ordnung (IP3) von 53 dBm
- 3,5 μs HF-Einschwingzeit (0,1 dB endgültiger HF-Ausgang)
- Keine Störungssignale bei niedriger Frequenz
- Alle Aus-Zustand-Steuerung
- Positive Steuerungsschnittstelle von CMOS-/LVTTL-kompatibel
- 20-Pin- LGA-Gehäuse von 3,0 mm x 3,0 mm
Applikationen
- Prüf- und Messgeräte
- Mobilfunkinfrastruktur von 5G Millimeterwelle
- Militärfunkgeräte, Radar und elektronische Gegenmaßnahmen (ECMs)
- Mikrowellenfunkgeräte und Very Small Aperture Terminals (VSATs)
- Industrie-Scanner
Weitere Ressourcen
Blockdiagramm
Veröffentlichungsdatum: 2023-02-22
| Aktualisiert: 2023-02-27
