Analog Devices Inc. Analog Devices ADV7181D 10-Bit, SDTV/HDTV Video-Decoder & RGB Grafik-Digititzer
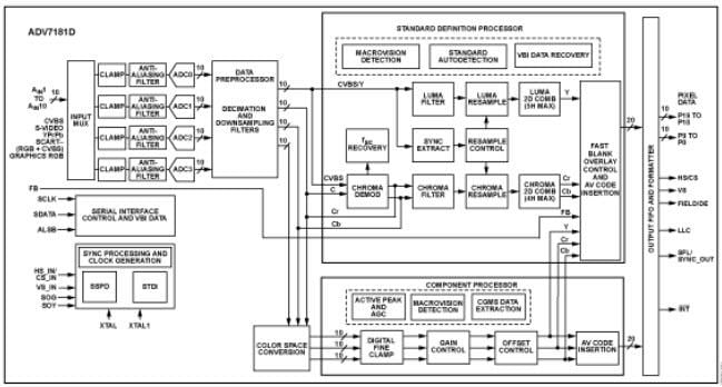
Der ADV7181D 10-Bit, SDTV/HDTV Video-Decoder von Analog Devices ist mit einem hochwertigen, Ein-Chip-, Mulitformat-Video-Decoder und Grafik-Digitizer ausgerüstet. Der ADV7181D bietet zwei Haupt-Verarbeitungsabschnitte. Der erste Abschnitt ist der Standard Definition Processor (SDP), der die Umwandlung von PAL,- NTSC-, und SECAM-Standards in die zusammengesetzte Form oder S-Video in ein digitales ITU-R BT.656 Format unterstützt. Der zweite Abschnitt ist der Komponentenprozessor (CP), der die Decodierung eines Komponenten-RGB/YPrPb-Videosignals in einen digitalen YCrCb oder RGB Pixel-Ausgangs-Stream unterstützt. Unterstützung für Komponenten-Video beinhaltet Standards wie 525i, 625i, 525p, 625p, 720p, 1080i und viele andere HD- und SMPTE-Standards. Außerdem kann der ADV7181D RGB-Grafiksignale aus VGA- bis XGA-Raten digitalisieren und in einen digitalen DDR RGB oder YCrCb Pixel-Ausgangs-Stream konvertieren. SCART- und Overlay-Funktionen sind möglich durch die Fähigkeit des ADV7181D zur gleichzeitigen Verarbeitung von CVBS- und SD-RGB-Signalen. Das Mischen dieser Signale wird über den FB-Pin (Fast Blank) gesteuert.The second section is the component processor (CP), which supports the decoding of a component RGB/YPrPb video signal into a digital YCrCb or RGB pixel output stream. Support for component video includes standards such as 525i, 625i, 525p, 625p, 720p, 1080i, and many other HD and SMPTE standards. In addition, ADV7181D is also capable of digitizing RGB graphics signals from VGA to XGA rates and converting them into a digital DDR RGB or YCrCb pixel output stream. SCART and overlay functionality are enabled by the ability of the ADV7181D to simultaneously process CVBS and standard definition RGB signals. The mixing of these signals is controlled by the fast blank (FB) pin.
Merkmale
- Qualified for automotive applications
- Four 10-bit ADCs sampling up to 75MHz
- 10 analog input channels
- SCART fast blank support
- Internal antialias filters
- NTSC, PAL, and SECAM color standards support
- 525p/625p component progressive scan support
- 720p/1080i component HDTV support
- Digitizes RGB graphics up to 1024 × 768 at 70Hz (XGA)
- 3 × 3 color space conversion matrix
- −40°C to +85°C Industrial temperature range
Applikationen
- Automotive entertainment
- HDTVs
- LCD/DLP® projectors
- HDTV STBs with PVR
- DVD recorders with progressive scan input support
- AVR receivers
Block Diagram
Veröffentlichungsdatum: 2014-11-18
| Aktualisiert: 2022-03-11
