Analog Devices Inc. ADXRS453 Gyroskop mit digitalem Ausgang
Das Analog Devices Inc. ADXRS453 Gyroskop mit digitalem Ausgang ist ein Drehratensensor, der für Industrie-, Messgeräte- und Stabilisierungsapplikationen in Umgebungen mit hohen Vibrationen optimiert ist. Ein fortschrittliches Differential-Quad-Sensor-Design unterdrückt die Auswirkungen einer Linearbeschleunigung und ermöglicht dem ADXRS453 eine Ratenmessung mit hoher Genauigkeit in rauen Umgebungen, bei denen Stöße und Vibrationen auftreten. Das ADXRS453 ist in der Lage, eine Drehrate von bis zu ± 300 °/s zu messen. Die Drehratendaten werden als 16-Bit-Wort und als Teil einer 32-Bit-SPI-Nachricht erzeugt.Das ADXRS453 verwendet eine interne, kontinuierliche Selbsttest-Architektur. Die Integrität des elektromechanischen Systems wird durch Anwenden einer elektrostatischen Hochfrequenz-Kraft auf die Sensorstruktur überprüft, um ein Ratensignal zu erzeugen, das von den Basisband-Datenraten abgegrenzt und intern analysiert werden kann.
Das ADXRS453 von Analog Devices Inc. ist in einem 16-Pin-Luftraum-Kunststoff-SOIC-Gehäuse (Small Outline Integrated Circuit, SOIC) untergebracht und eignet sich hervorragend für die Messung der Gierrate (z-Achse). Darüber hinaus ist das ADXRS453 in einem innovativen SMT-kompatiblen vertikal-montierten LCC-Gehäuse (Leadless Chip Carrier, LCC) verfügbar, das für das Rastermaß, die Roll- oder Gierreaktion ausgerichtet werden kann, ohne dass zusätzliche Boards in einem 90°-Winkel montiert werden müssen.Beide Gehäuseoptionen sind bleifrei und RoHS-konform.
Merkmale
- Vollständiges Ratengyroskop auf einem Einzel-Chip
- Drehratenmessung von ±300 °/s
- Extrem hohe Vibrationsunterdrückung: 0,01 °/Sek./g
- Hervorragende 16°/Std. Nullpunktstabilität (Bias-Stabilität)
- Interner Temperaturausgleich
- 2.000 g betriebene Stoßfestigkeit
- SPI-Digitalausgang mit 16-Bit-Datenwort
- Rauscharm und geringer Stromverbrauch
- Großer Betriebsspannungsbereich: 3,3 V bis 5 V
- Betriebstemperaturbereich: -40 °C bis +105 °C
- Extrem klein, leicht und RoHS-konform
- Gehäuseoptionen:
- SOIC_CAV-16 Gehäuse für Gierratenreaktion (z-Achse)
- LCC_V-14-Gehäuse für Rastermaß, Roll- oder Gierreaktion
Applikationen
- Rotationsmessung in Umgebungen mit hohen Vibrationen
- Hochleistungsplattform-Stabilisierung
- Rotationsmessung für Industrie- und Messgeräteapplikationen
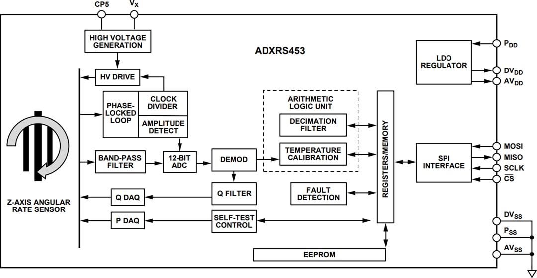
Funktionales Blockdiagramm
Empfohlene Applikations-Schaltung
Gehäuseabmessungen (SOIC_CAV)
Gehäuseabmessungen (LCC_V)
