Analog Devices Inc. TMCM-3216 Schrittmotor-Controller/Treibermodule
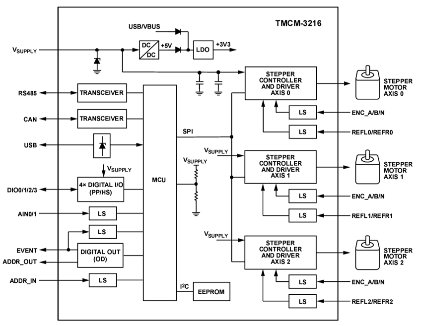
Die TMCM-3216 Schrittmotor-Controller-/Treibermodule von Analog Devices Inc. sind kompakte, bipolare 3-Achsen-Schrittmotor-Controller und eigenständige Treiberplatinen. Die TMCM-3216 Boards von Analog Devices Inc. unterstützen bis zu drei bipolare Schrittmotoren mit einem Motorspulenstrom bis zu 2 ARMS und bieten einen Einzelversorgungsbetrieb mit typischem 24 VDC (10-V- bis 30-V-Bereich). Es gibt separate Referenz-/Stopp-Schalter und inkrementelle A/B/N-Encoder-Eingänge pro Motorachse. Darüber hinaus bietet das Modul vier programmierbare Digitaleingänge und -ausgänge, die als Push-Pull- oder High-Side-Ausgänge konfigurierbar sind. Zwei Analogeingänge unterstützen 0 V- bis 10 V-Signale. Eine USB-Schnittstelle ist für die Konfiguration und Aktualisierung verfügbar. Die RS485- und CAN-Bus-Schnittstellen können für die systeminterne Kommunikation und Verkettungsboards verwendet werden, um die Verdrahtung über Bus-Steckverbinder an jedem Ende des Boards zu vereinfachen.Merkmale
- 3-Achsen-Schrittmotor-Controller/-Treiber
- 10 V bis 30 V Versorgungsspannungsbereich, 24 V typ.
- Drei 1,5 ARMS Motorstrom, 2 ARMS Spitze
- 8-Punkt-Hardware-Rampengenerator
- StealthChop™/SpreadGuard™
- REFL-/REFR-Referenzschaltereingänge pro Motorachse
- A/B/N Encoder-Eingang pro Motorachse
- Vier digitale _ IN/OUT, 24 V Push-Pull oder High-Side
- Zwei ANALOG _ IN, 0 V bis 10 V
- RS485-/CAN-/USB-Schnittstellen
- 85 mm x 55 mm (Kreditkartengröße)
- Automatische Platinen-Adresszuweisung beim Einschalten (optional)
- TMCL, CANopen
Applikationen
- Industrieautomatisierung
- Laborautomatisierung
- Medizingeräte
Videos
Mehrachsen-Applikationsbeispiel
Steckverbinder
On-Board-LEDs
Blockdiagramm
Veröffentlichungsdatum: 2025-01-17
| Aktualisiert: 2025-06-20
