Analog Devices / Maxim Integrated DS28E39 Sicherer DeepCover-Authentifikator
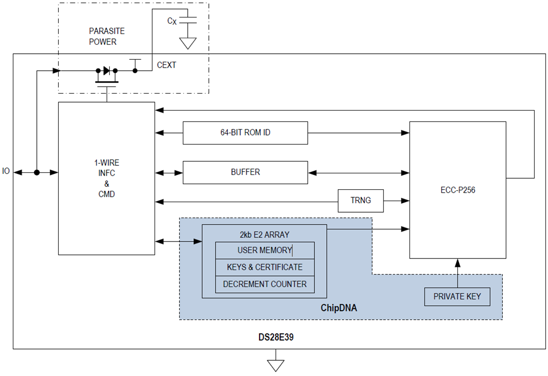
Der DS28E39 Sichere DeepCover-Authentifikator von Maxim ist ein bidirektionaler sicherer Authentifikator auf Basis von öffentlichen ECDSA-Schlüsseln mit patentierter ChipDNA™-Funktion von Maxim. Diese Funktion ist eine physisch nicht-klonbare Funktion (Physically Unclonable Function, PUF), die eine kostengünstige Lösung mit dem höchsten Schutz gegen Sicherheitsangriffe bietet. Die ChipDNA-Schaltung erzeugt einen einzigartigen Zeit-, Temperatur- und Betriebsspannungs-stabilen Ausgabewert durch Verwendung zufälliger Variationen von Halbleiterbauteileigenschaften, die bei der Wafer-Herstellung natürlich auftreten. Versuche, den ChipDNA-Betrieb abzutasten oder zu beobachten, ändern die zugrunde liegenden Schaltungseigenschaften, was die Entdeckung des einzigartigen Werts, der von den kryptographischen Funktionen des Chips verwendet wird, verhindert.Der DS28E39 nutzt einen ChipDNA-Ausgang als Hauptinhalt zur kryptographischen Sicherung aller im Bauteil gespeicherten Daten und optional unter Kontrolle des Benutzers als privaten Schlüssel für den ECDSA-Signiervorgang. Mit der ChipDNA-Funktion bietet das Bauteil einen Hauptsatz kryptographischer Tools, die aus integrierten Blöcken abgeleitet werden, einschließlich einer asymmetrischen Hardware-Engine (ECC-P256), eines FIPS/NIST-konformen echten Zufallszahlengenerators (TRNG), 2 KB gesicherten EEPROM, eines ausschließlich dekrementierenden Zählers und einer eindeutigen 64-Bit-ROM-Kennnummer (ROM-ID).
Die EEC-öffentlichen/-privaten-Schlüsselfunktionen werden von der NIST-definierten P-256-Kurve betrieben und bieten eine FIPS-186-konforme ECDSA-Signaturerstellungsfunktion. Die einzigartige ROM-ID dient als grundlegender Eingangsparameter für kryptographische Betriebsabläufe und als eine elektronische Seriennummer innerhalb der Applikation. Der DS28E39 kommuniziert über den Einzelkontakt-1-Wire®-Bus mit Standard- und Overdrive-Geschwindigkeit. Die Kommunikation folgt dem 1-Wire-Protokoll mit einer ROM-ID, die im Falle eines 1-Wire-Netzwerks mit mehreren Geräten als Knotenadresse fungiert.
Merkmale
- Robuste Gegenmaßnahmen schützen vor Sicherheitsangriffen
- Patentierte physikalisch nicht klonbare Funktion sichert Gerätedaten
- Aktiv überwachte Chip-Abschirmung erkennt und reagiert auf Eindringversuche
- Alle gespeicherten Daten sind kryptographisch vor Entdeckung geschützt
- ECDSA-authentifizierter R/W gespeicherter Daten und Zähler
- Effiziente öffentliche Schlüssel-Authentifizierungslösung zur Authentifizierung von Peripherien
- FIPS-186-konforme ECDSA-P256-Signatur für Challenge-/Response-Authentifizierung
- ChipDNA-erzeugtes öffentliches/privates Schlüsselpaar
- TRNG mit NIST SP 800-90B-konformer Entropie-Quelle
- Ergänzende Funktionen ermöglichen eine einfache Integration in die Endapplikationen
- Einmalig einstellbarer, nichtflüchtiger ausschließlich dekrementierbarer 17-Bit-Zähler mit authentifizierter Lesefunktion
- 2 KBits EEPROM für Benutzerdaten, Schlüssel, Steuerregister und Zertifikat
- Einzigartige und unabänderliche im Werk programmierte 64-Bit-Identifikationsnummer (ROM-ID)
- Einzelkontakt, 1-Draht-Schnittstellenkommunikation mit Host bei 11,7 KBit/s und 62,5 KBit/s
- Betriebsbereich: 3,3 V ±10 %, -40 °C bis +85 °C
- 6-Pin-TDFN-EP-Gehäuse (3 mm x 3 mm)
Applikationen
- Authentifizierung von medizinischen Sensoren und Tools
- Sicheres Management von Verbrauchsmaterialien mit eingeschränktem Verbrauch
- IoT-Knoten-Authentifizierung
- Peripherie-Authentifizierung
- Referenzdesign-Lizenzmanagement
- Identifizierung und Authentifizierung von Druckerpatronen
Blockdiagramm
