Analog Devices / Maxim Integrated MAX20743 Abwärtsschaltregler
Maxim MAX20743 Abwärtsschaltregler sind vollständig integrierte Schaltregler mit hohem Wirkungsgrad und PMBus™ für Applikationen, die von 4,5 V bis 16 V arbeiten und bis zu 35 A max. Last erfordern. Dieser Einzelchip-Regler bietet äußerst kompakte Stromversorgungslösungen mit hohem Wirkungsgrad und hochpräzisen Ausgangsspannungen sowie ausgezeichnetem Einschwingverhalten für Netzwerk-, Datenkommunikations- und Telekommunikations-Ausrüstungen. Der MAX20743 Regler bietet eine große Auswahl von programmierbaren Funktionen über den PMBus oder einen Kondensator und einen Widerstand, der mit einem dedizierten Programmier-Pin verbunden ist.Mit dieser Funktion kann der Betrieb für eine bestimmte Applikation optimiert werden, wodurch die Komponentenanzahl und/oder die Einstellung entsprechender Kompromisse zwischen der Leistungsfähigkeit und den Systemkosten des Reglers reduziert werden. Der MAX20743 Abwärtsschaltregler bietet eine einfache Programmierung, welche die Verwendung des gleichen Designs für mehrere Applikationen ermöglicht.
Merkmale
- Hochleistungsdichte und niedrige Bauelementanzahl:
- Lösungsgröße insgesamt: 509 mm2, einschließlich Induktivität und Ausgangskondensatoren
- 90,8 % Spitzenwirkungsgrad mit VDDH = 12 V und VOUT = 1 V
- Schnelles Einschwingverhalten: unterstützt Transienten mit bis zu 300 A/μs Lastschritten
- Optimiertes Bauelement-Betriebsverhalten und Wirkungsgrad mit reduzierter Design-In-Zeit
- PMBus-konforme Schnittstelle für Telemetrie und Leistungsmanagement
- Spannungs-, Strom- und Temperaturmeldungen über digitalen Bus
- Zuverlässigere Stromversorgung mit System- und IC-Eigenschutzfunktionen:
- Differential-Fernerkundung mit Leerlauf-Erkennung
- HICCUP-Überstromschutz
- Programmierbare thermische Abschaltung
Applikationen
- Kommunikationssystem
- Netzwerkausstattung
- Server und Speichergeräte
- Punktlast-Spannungsregler
- μP-Chipsätze
- Speicher VDDQ
- I/O
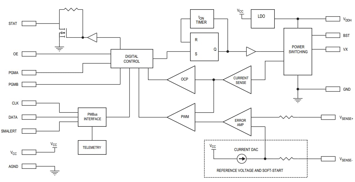
MAX20743 Blockdiagramm
Typischer Systemwirkungsgrad gegenüber Laststrom (VDDH = 12 V)
Veröffentlichungsdatum: 2017-07-13
| Aktualisiert: 2023-04-17
