Analog Devices / Maxim Integrated MAX31850/51 Digitalwandler für Thermoelemente

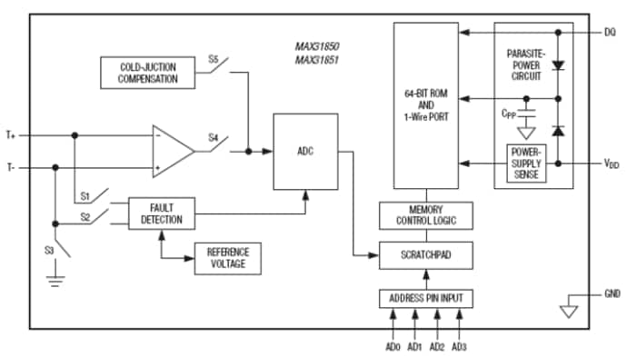
Die MAX31850 / MAX31851 kaltstellenkompensierten 1-Wire-Digitalwandler für Thermoelemente von Maxim Integrated sind präzise Digitalwandler-ICs für Thermoelemente, die die Konstruktion erleichtern und Systemkosten reduzieren. Die 1-Wire-Schnittstelle vereinfacht dank dem geringen Verdrahtungsaufwand Multi-Thermoelementsysteme. Jede Komponente verfügt über einen 64-Bit seriellen Code, der auf eine integrierten ROM gespeichert ist. Außerdem verfügen sie über vier Pin-programmierbare Bits, so dass die 16 Sensor-Platzierungen auf einem Bus erkannt werden können. Die MAX31850 / MAX31851 vereinfachen die Systemfehlerverwaltung und Fehlerbehebung durch Erkennen der Kurzschlüsse bei Thermoelementen auf GND oder VCC. Diese Komponenten erkennen außerdem geöffnete Thermoelemente. Sie eignen sich ideal für eine Vielzahl von Anwendungen einschließlich industrielle Präzisionswärmeüberwachung, medizinische Geräten, Solartechnik, Automobilen und mehr.

Merkmale

  • Ease and speed system design
    • Integrate all of the required functions of a discrete solution
      • ADC, precision amplifier, temperature sensor for cold-junction compensation, 1-wire communication interface
    • Versions available for several thermocouple types
      • K, J, N, T, and E (MAX31850)
      • S and R (MAX31851)
    • Highly accurate (±2.0°C) with no calibration required
  • Integrated solution lowers system cost over discrete solution
    • One IC versus four to five discrete components reduces board space requirements
  • Simplify system fault management and troubleshooting
    • Detects thermocouple shorts to GND or VCC
    • Detects open thermocouple
  • 1-Wire multidrop capability simplifies multisensor systems
    • Each device has a unique 64-bit serial code stored in an on-board ROM
    • 4 pin-programmable bits to uniquely identify up to 16 sensor locations on a bus
    • Minimizes wiring requirements

Applikationen

  • Precision industrial thermal monitoring
  • Medical equipment
  • HVAC/Appliances
  • Solar equipment
  • Automotive

Application Circuit

Analog Devices / Maxim Integrated MAX31850/51 Digitalwandler für Thermoelemente

Block Diagram

Analog Devices / Maxim Integrated MAX31850/51 Digitalwandler für Thermoelemente

Videos

Veröffentlichungsdatum: 2013-03-05 | Aktualisiert: 2023-04-13