Analog Devices / Maxim Integrated Maxim MAX31911 Schnittstellen-Umsetzer/Serialisierer

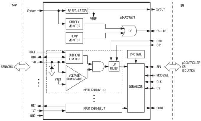
Die Maxim MAX31911 Schnittstellen-Umsetzer/Serialisierer dienen zur Umsetzung, Aufbereitung und Anordnung des 24V-Digitalausgangs von Sensoren und Schaltern. Diese finden in der Industrie, Verarbeitungsprozessen und Gebäudeautomation Anwendung mit 5V CMOS-kompatiblen Signalen, die für Mikrocontroller erforderlich sind. Sie bieten einen Frontend-Schnittstellenschaltkreis eines SPS-Digitaleingangsmoduls. Das Gerät verfügt über integrierte Strombegrenzung, Tiefpassfilterung und Kanal Serialisierung. Die Eingangsstrombegrenzung ermöglicht eine erheblich geringere Leistungsaufnahme im Vergleich zu traditionellen diskreten Widerstandsteiler-Implementationen. Der Serialisierer ist stapelbar, so dass beliebig viele Eingangskanäle serialisiert und über einen einzigen SPI-kompatiblen Port ausgegeben werden können. Dadurch werden - unabhängig von der Anzahl der Eingangskanäle - lediglich drei Optokoppler benötigt.

Merkmale

  • Very low power and heat dissipation
    • Low quiescent current (1.4mA typ.)
    • Highly accurate and stable input current limiters, adjustable from 0.5mA to 6mA
  • High integration reduces BOM count, board size, and system cost
    • Eight high-voltage input channels (36V max.)
    • On-chip 8-1 serialization with SPI interface
    • On-chip 5V regulator
    • On-chip over temperature indicator
    • On-chip field supply voltage monitor
    • Integrated debounce filters, selectable from 0 to 3ms
  • Robust features and performance for industrial environments
    • Multibit CRC code generation and transmission for error detection and more reliable data transmission
    • High ESD immunity on all field input pins
  • Accepts industry standard input types
    • Configurable for IEC 61131-2 input types 1, 2, and 3
  • Flexible power supply capability enables usage in 5V, 12V, 24V, and higher voltage systems
    • Wide operating field supply range of 7V to 36V
    • Can be powered from the logic-side using a 5V supply

Applikationen

  • Building automation
  • Digital input modules for PLCs
  • Industrial automation
  • Motor control
  • Process automation

Block Diagram

Blockdiagramm - Analog Devices / Maxim Integrated Maxim MAX31911 Schnittstellen-Umsetzer/Serialisierer
Veröffentlichungsdatum: 2015-05-01 | Aktualisiert: 2023-04-12