Analog Devices / Maxim Integrated MAX5825 8-Kanal 12-Bit DACs
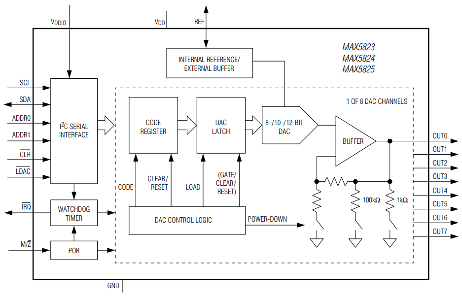
Der MAX5825 8-Kanal 12-Bit Digital-Analog Wandler (DAC) von Maxim Integrated ist ein Spannungsausgangs-Digital-zu-Analog-Wandler, der u. a. über Ausgangspuffer und eine interne 3 ppm/°C Referenzspannung verfügt, die zwischen 2,048 V, 2,500 V oder 4,096 V wählbar ist. Der MAX5825 DAC von Maxim Integrated akzeptiert einen breiten Versorgungsspannungsbereich von 2,7 V bis 5,5 V mit extrem niedrigem Energieverbrauch (3 mW) und eignet sich daher für die meisten Niederspannungs-Anwendungen. Ein externer Präzisions-Referenzeingang ermöglicht einen Rail-to-Rail-Betrieb und legt eine Last von 100 kΩ (typisch) für eine externe Referenz vor. Zu MAX5825 gehört eine I²C-kompatible, zweiadrige serielle Schnittstelle, die bei Taktraten von 400 kHz betrieben wird. Der DAC-Ausgang ist gepuffert und verfügt über einen niedrigen Versorgungsstrom von weniger als 250 µA pro Kanal und einen niedrigen Offset-Fehler von ±0,5 mV (typisch). Der MAX5825 setzt die DAC-Ausgänge beim Einschalten auf Null oder Mittelwert zurück, basierend auf dem Status des Active-Low-M/Z-Logikeingangs und bietet Flexibilität für eine Vielzahl von Steuerungsanwendungen. Der MAX5825 verfügt über eine Watchdog-Funktion, die aktiviert ist, um die I/O-Schnittstelle für Aktivität und Integrität zu überwachen.The MAX5825 has an I²C-compatible, 2-wire interface that operates at clock rates up to 400kHz. The DAC output is buffered and has a low supply current of less than 250µA per channel and a low offset error of ±0.5mV (typ). The MAX5825 resets the DAC outputs on power up to zero or midscale based on the status of active-low M/Z logic input, providing flexibility for a variety of control applications. The MAX5825 features a watchdog function that can be enabled to monitor the I/O interface for activity and integrity.
Merkmale
- Eight high-accuracy DAC channels
- 12-Bit accuracy without adjustment
- ±1 LSB INL Buffered voltage output
- Guaranteed monotonic over all operating conditions
- Independent mode settings for each DAC
- Three precision selectable internal references
- 2.048V, 2.500V, or 4.096V
- Internal output buffer
- Rail-to-rail operation with external reference
- 4.5µs Settling time
- Outputs directly drive 2kΩ loads
- Wide 2.7V to 5.5V supply range
- Separate 1.8V to 5.5V VDDIO power-supply input
- Fast 400kHz I²C-compatible, 2-wire serial interface
- Pin-selectable power-on-reset to zero-scale or midscale DAC output
- Active-low LDAC and active-low CLR for asynchronous DAC control
- Three software-selectable power-down output impedances
- 1kΩ, 100kΩ, or high impedance
Applikationen
- Automatic tuning and optical control
- Gain and offset adjustment
- Portable instrumentation
- Power amplifier control and biasing
- Process control and servo loops
- Programmable voltage and current sources
Functional Diagram
Veröffentlichungsdatum: 2012-04-10
| Aktualisiert: 2023-04-12
