Diodes Incorporated AH332x Unipolare Hochspannungs-Hall-Effekt-Schalter
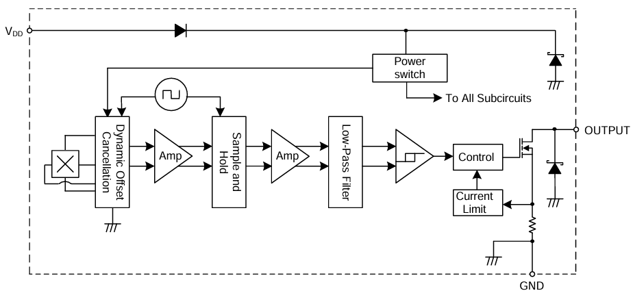
Diodes Incorporated AH332x Unipolarer Hochspannungs-Hall-Effekt-Schalter sind für Industrie- und Unterhaltungselektronik-Applikationen ausgelegt. Diese Applikationen umfassen Näherungs-, Positions- und Füllstandsmessung in Haushaltsgeräten und Körperpflegegeräten. Der AH332x von Diodes Incorporated wird nahtlos in einem Versorgungsbereich von 3,0 V bis 28 V betrieben und gewährleistet eine Kompatibilität mit verschiedenen anspruchsvollen Applikationen. Die spannungsstabilisierte Architektur und der interne Bandlückenregler bieten eine temperaturkompensierte Versorgung für Zuverlässigkeit über den gesamten Betriebsbereich. Darüber hinaus enthält das Bauteil Schutzfunktionen, wie z. B. eine Rückwärtssperrdiode mit einer Zener-Klemme auf der Versorgung, eine Überstrombegrenzung und eine Zener-Klemme am Ausgang.Merkmale
- Unipolarer Betrieb
- BOP und BRP von 30 G bis 115 G und 20 G bis 90 G typische hohe Empfindlichkeit
- Einzel-Open-Drain-Ausgang mit Überstrombegrenzung
- Betriebsspannungsbereich: 3,0 V bis 28 V
- Beständig gegen physische Belastung
- Chopper-stabilisiertes Design bietet eine hervorragende Temperaturstabilität
- Minimaler Schaltpunkt-Drift
- Verbesserte Beständigkeit gegen Belastungen
- Gute HF-Rauschimmunität
- Rückwärts sperrende Diode
- Zener-Klemme auf Versorgungs- und Ausgangspins
- -40 °C bis +125 °C Betriebstemperatur
- Hohe ESD-HBM von 8 kV
- SC59-, SOT23- (Typ S), SIP-3- (Ammo-Pack) und SIP-3-Gehäuse (Bulk-Pack) nach Industriestandard
- Vollständig RoHS-konform und völlig bleifrei
- Halogen- und antimonfreies umweltfreundliches Bauteil
Applikationen
- Positions- und Näherungserkennung in Haushaltsgeräten, Gebäudeautomatisierung, Büroausstattung und Industrieapplikationen
- Öffnungs- und Schließerkennung
- Positionserkennung
- Füllstandserkennung
- Durchflussmessgeräte
- Berührungslose Schalter
Typische Applikations-Schaltung
Blockdiagramm
Veröffentlichungsdatum: 2024-02-21
| Aktualisiert: 2024-03-06
