Diodes Incorporated AP43771 Hochleistungs-USB-Typ-C-PD-Controller
Der AP43771 Hochleistungs-USB-Typ-C™ Power-Delivery-Controller von Diodes Inc. ist für USB-Typ-C-Adapter- und Ladegerät-Applikationen ausgelegt. Diodes Inc. AP43771 ist mit dem Qualcomm QC4/QC4 + Protokoll kompatibel, das die USB-Power-Delivery-Spezifikation Rev3.0 V1.2 (einschließlich optionaler PPS-Unterstützung) unterstützt. Der AP43771 kann PPS APDO (Augmented Power Data Object) mit einer Spannungsauflösung von 20mV/Schritt und einer Stromauflösung von 50mA/Schritt für das Energiemanagement unterstützen. Darüber hinaus sind eine Kabelverlustkompensation und ein SOP-Befehl für die E-Marker-Erkennung integriert. Der AP43771 kann mit den integrierten OVP-/OCP-/SCP-/OTP-Funktionen ein robustes Schutzsystem bieten.Merkmale
- Kompatibel mit USB-PD Rev3.0 V1.2
- USB-IF PD3.0-/PPS-zertifiziert TID = 1090028
- Qualcomm QC4/4+-Protokoll-zertifiziert
- OTP (One-Time-Programmable) für Haupt-Firmware
- MTP (Multi-Time-Programmable) für Systemkonfiguration
- Integrierter Regler für CV- und CC-Steuerung
- Unterstützt SCP/OTP/OVP/UVP mit automatischem Neustart
- Unterstützt den Stromsparmodus
- Externe n-MOSFET-Steuerung für VBUS-Power-Delivery
- Unterstützt die Erkennung von E-Marker-Kabeln
- Betriebsspannungsbereich: 3,3 V bis 20 V
- Geringste Anzahl externer Komponenten
- Bleifrei und vollständig RoHS-konform
- Halogen- und Antimonfreies umweltfreundliches Bauteil
Applikationen
- USB-Typ-C-Adapter/-Ladegerät
- USB-PD-Wandler
Infografik
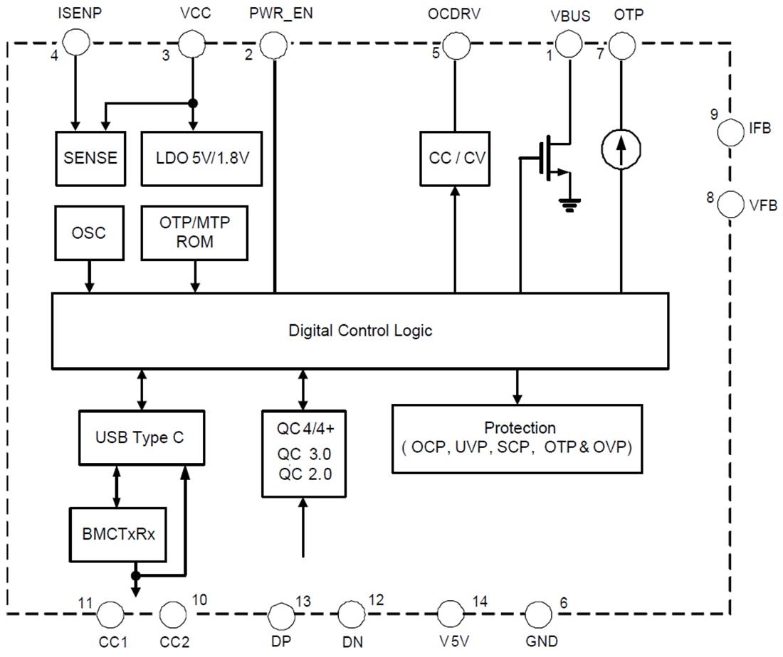
Funktionales Blockdiagramm
Veröffentlichungsdatum: 2020-01-17
| Aktualisiert: 2024-07-03
