Diodes Incorporated PI3HDX1212 12 Gbps HDMI™ 2,1 1:2 Signalverdoppler
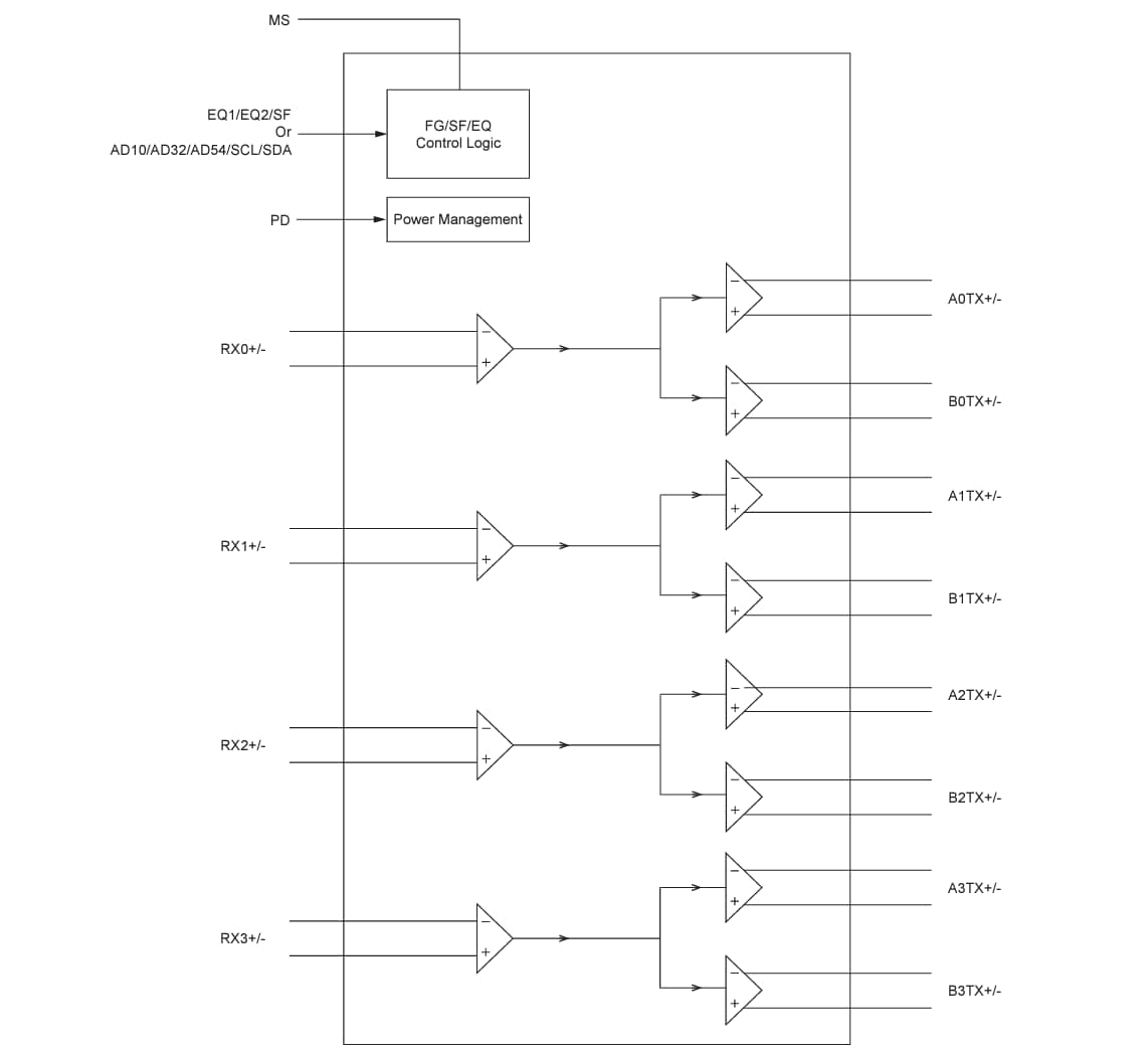
Der Diodes Incorporated PI3HDX1212 12 Gbps-HDMI-™ 2,1-1:2 Signalverdoppler ist für Videonetzwerke mit hoher Auflösung ausgelegt, die auf der Signalverarbeitung der HDMI 2,1-Standards basieren. Der PI3HDX1212 steuert Differentialsignale zu mehreren Videoanzeigeeinheiten an. Je nach Modus-Auswahlpin bietet das Bauteil einen steuerbaren Equalizer, eine flache Gain und eine Ausgangsschwingungs-Linearität, die über eine Pin- oder I2C-Steuerung manipuliert werden kann. Die maximale HDMI-Datenrate von 12 Gbps liefert einen 8 K bei 60 Hz Auflösung oder 4 K bei 120 Hz, die für 8 K HDTV, PC-Grafikprodukte und andere Peripheriegeräte benötigt wird. Für PC-Grafikapplikationen befindet sich der PI3HDX1212 auf der Treiberseite und Fan-out-Differentialsignale an mehreren Display-Einheiten, wie z. B. einen PC-LCD-Monitor, Projektor und Fernseher. Die CTLE-Equalizer sind an den Eingängen des Redrivers implementiert, um die ISI-Jitter zu reduzieren und den Kanalverlust zu kompensieren.Der PI3HDX1212 von Diodes gewährleistet die Übertragung von Videostreams mit hoher Bandbreite von Videosignalen zu den Enddisplay-Einheiten.
Merkmale
- 1-to-2 aktiver Signalverdoppler für 4-Lane HDMI2.1 Betrieb
- Unterstützung von Datenraten bis zu 12 Gbps und Auflösungen von 8K4K Pixel
- Quad-Level-Equalizer-Gain-Werteauswahl gesteuert durch Pin-Strap- oder I2C-Modus-Programmierung
- Die Auswahl der Quad-Level-Flat-Gain und Ausgangsschwingungs-Linearität wird durch Pin-Strap- oder I2C-Modus-Programmierung gesteuert
- 2 kV HBM-ESD-Schutz auf I/O-Pins
- 3,3 V Einzelnetzteil
- -40 °C- bis +70 °C-Temperaturunterstützung
- Vollständig RoHS-konform und völlig bleifrei
- Halogen- und antimonfreies umweltfreundliches Bauteil
- Für Fahrzeuganwendungen, die eine spezifische Änderungssteuerung erfordern (d. h. Teile, die gemäß AEC-Q100/101/104/200 qualifiziert sind, PPAP-fähig und in IATF 16949-zertifizierten Anlagen hergestellt werden)
- Gehäuse (bleifrei und umweltfreundlich) 40-Pin-TQFN, 3 mm x 6 mm (0,4 mm Rastermaß) (ZLD)
Applikationen
- Peripherierahmen anzeigen
- Digitale Beschilderungsdisplays
- Multiscreen-Spleißen
Ressource
Applikationsdiagramm
Blockdiagramm
Veröffentlichungsdatum: 2024-09-09
| Aktualisiert: 2024-11-14
