Infineon Technologies PSOC™ CY8C24x93 Controllers
Infineon Technologies PSOC™ CY8C24x93 Controllers are designed to replace multiple MCU-based components with a single-chip programmable component. The PSOC CY8C24x93 includes configurable analog and digital blocks and programmable interconnects. This architecture allows users to create customized peripheral configurations that match the requirements of individual applications. Infineon PSOC CY8C24x93 provides a fast CPU, Flash program memory, and SRAM data memory, and configures I/O in a range of convenient pinouts.Features
- Powerful Harvard-architecture processor
- M8C CPU with a max speed of 24MHz
- Operating range of 1.71V to 5.5V
- Flexible on-chip memory
- Read while write with EEPROM emulation
- 50,000 flash erase/write cycles
- Programmable pin configurations
- Configurable internal pull-up, high-Z, and open drain modes
- 12Mbps USB 2.0 compliant
- 8x unidirectional endpoints
- Bidirectional endpoint
- Dedicated 512byte SRAM
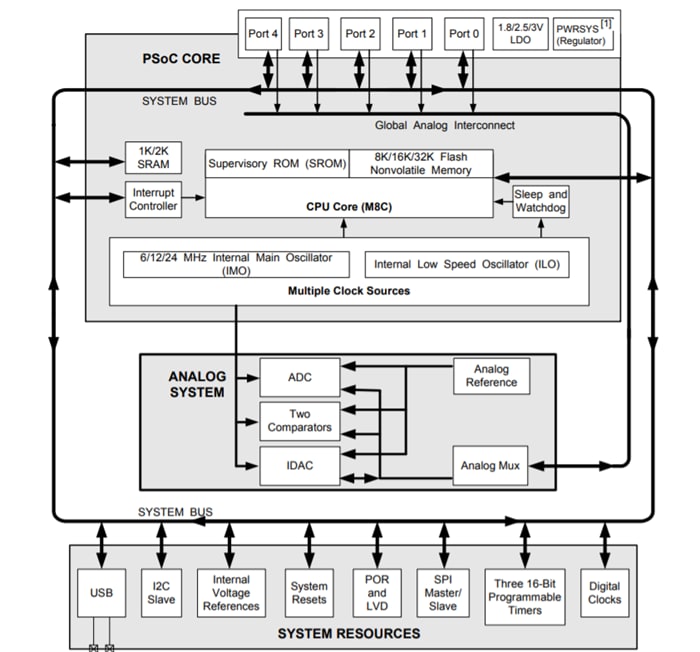
Logic Block Diagram
Veröffentlichungsdatum: 2013-10-25
| Aktualisiert: 2025-08-21
