Infineon Technologies S70KL1282 und S70KL1283 Schnittstellen-HyperRAMs
Die S70KL1282 und S70KL1283 Schnittstellen-HyperRAMs von Infineon Technologies sind selbstaktualisierende Hochgeschwindigkeits-CMOS-DRAMs mit HYPERBUS™-Schnittstellen. Das DRAM-Array verwendet dynamische Zellen, die eine regelmäßige Aktualisierung erfordern. Die Aktualisierungs-Steuerlogik innerhalb des Bauteils verwaltet den Aktualisierungsbetrieb auf dem DRAM-Array, wenn der Speicher nicht aktiv vom HYPERBUS-Schnittstellen-Master (Host) gelesen oder geschrieben wird. Da der Host für die Verwaltung von Aktualisierungsvorgängen nicht erforderlich ist, erscheint das DRAM-Array für den Host so, als ob der Speicher statische Zellen verwendet, die Daten ohne Aktualisierung speichern. Der Speicher wird genauer als pseudostatischer RAM (PSRAM) bezeichnet.Merkmale
- Schnittstelle
- HYPERBUS-Schnittstelle
- Schnittstellenunterstützung: 1,8 V/3,0 V
- Einendiger Taktgeber (CK) – 11 Bus-Signale
- Optionaler Differential-Taktgeber (CK, CK#) – 12 Bus-Signale
- Chipauswahl (CS-Nr.)
- 8-Bit-Datenbus (DQ[7:0])
- Hardware-Reset (RESET#)
- Bidirektionales Strobe-Signal zum Lesen und Schreiben von Daten (Read-Write Data Strobe, RWDS):
- Ausgabe am Anfang aller Transaktionen, um die Aktualisierungslatenz anzuzeigen
- Ausgabe bei Lesetransaktionen als Strobe-Signal zum Lesen
- Eingabe bei Schreibtransaktionen als Schreibdatenmaske
- Optionales mittig ausgerichtetes DDR-Strobe-Signal zum Lesen (DCARS)
- Während Lesetransaktionen wird RWDS durch einen zweiten Taktgeber kompensiert, der vom CK phasenverschoben ist
- Der phasenverschobene Taktgeber wird verwendet, um die RWDS-Übergangsflanke innerhalb des Lesedatenauges zu bewegen
- Performance, Leistung und Gehäuse
-
- Maximale Taktrate: 200 MHz
- DDR – Übertragungsdaten auf beiden Taktflanken
- Datendurchsatz von bis zu 400 MBit/s (3.200 MBit/s)
- Konfigurierbare Burst-Eigenschaften
- Linearer Burst
- Wrap-Burst-Längen
- 16 Byte (acht Taktgeber)
- 32 Byte (16 Taktgeber)
- 64 Byte (32 Taktgeber)
- 128 Byte (64 Taktgeber)
- Hybrid-Option - ein Wrap-Burst gefolgt von einem linearen Burst auf 64 Mb. Ein linearer Burst über die Chip-Grenze wird nicht unterstützt.
- Konfigurierbare Ausgangsantriebsleistung
- Leistungsmodi
- Hybrid-Schlafmodus
- Deep-Power-Down-Funktion
- Array-Aktualisierung
- Teilspeicherarray (1/8, 1/4, 1/2 und so weiter)
- Voll
- Gehäuse
- 24-Ball-FBGA
-
- Industrie (I) -40 °C bis +85 °C
- Industrie Plus (V) -40 °C bis +105 °C
- Betriebstemperaturbereich, Automotive, AEC-Q100 Klasse 3: -40 °C bis +85 °C
- Automotive, AEC-Q100 Klasse 2 -40 °C bis +105 °C
- Konfigurierbare Burst-Eigenschaften
-
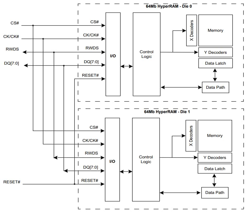
Blockdiagramm
Veröffentlichungsdatum: 2021-05-11
| Aktualisiert: 2023-09-04
