Infineon Technologies ICL8830 Einstufen-PFC-Flyback-Controller
Der ICL8830 Einstufen-Blindleistungskompensations(PFC)-Flyback-Controller von Infineon Technologies ist ein Hochleistungs-Bauelement, das für kostengünstige und energieeffiziente Stromversorgungslösungen entwickelt wurde. Dieser Controller ist auf Hochfrequenz-Schaltvorgänge zugeschnitten und kann GaN- und Si-MOSFET-Schalter ansteuern. Der ICL8830 von Infineon integriert PFC und quasi-resonante Flyback-Steuerung in einem einzigen IC. Der Controller verfügt über einen weiten Eingangsspannungsbereich (90 VAC bis 300 VAC), eine einstellbare maximale Einschaltzeit und umfassende Schutzfunktionen, darunter Überspannungs-, Überstrom-, Brown-In/Out- und Übertemperaturschutz. Darüber hinaus verfügt der ICL8830 über einen Burst-Modus-Betrieb für einen extrem niedrigen Standby-Stromverbrauch und eine Jitter-Funktion zur einfacheren Erfüllung der EMI-Konformitätsstandards, wodurch er sich ideal für moderne, kompakte und effiziente Stromversorgungsdesigns eignet.Merkmale
- SSR-CV-Ausgangs-Flyback-Topologie
- Optimiert für den Hochfrequenzbetrieb, geeignet für den Betrieb mit GaN-Bauteilen
- Hoher Leistungsfaktor und niedriger THD über einen weiten AC-Eingangsspannungs- und Ausgangslastbereich
- Unterstützt eine universelle AC-Eingangsspannung (90 VAC bis 300 VAC, 45 Hz bis 66 Hz) sowie den Betrieb mit DC-Eingangsspannung
- QRM-Betrieb mit Valley-Schaltung und Kontinuierlicher-Leitungsmodus(CCM)-Prävention
- Burst-Modus für sehr geringe Lasten und niedrigen System-Standby-Stromverbrauch
- Einstellbare Zuordnung der Einschaltzeit bei der Talwechselposition für die gewünschte maximale Betriebsschaltfrequenz
- Einstellbare maximale Einschaltzeit (begrenzt Eingangsleistung und -strom und ermöglicht einen sicheren Betrieb unter niedrigen Leitungsbedingungen)
- Soft-Start zur Reduzierung der Komponentenbelastung während des Einschaltens
- Externes Anlaufschaltungs-Steuersignal
- Die reduzierte Gate-Treiber-Spannung während der Einschaltsequenz ermöglicht eine geringere VCC -Kapazität und damit einen schnelleren Start
- VCC -Wake-Up-Burst-Betrieb zur Aufrechterhaltung einer ausreichenden VVCC -Spannung im Burst-Modus
- Reduzierte Gate-Treiber-Spannung im Burst- Modus, um Gate-Ladungsverlust für eine niedrigere Standby-Leistung zu reduzieren
- Umfassender Satz an Schutzfunktionen:
- Interner Übertemperaturschutz (OTP)
- Flyback-Ausgangsüberspannungsschutz (OVP)
- Primärseitiger Überstromschutz (OCP)
- Brown-In-Schutz
- Brownout-Schutz
- VCC-Überspannungsschutz
- Schutz offener Schleifen
- Eingangsüberspannungsschutz
Applikationen
- Hochfrequenz-PFC-Flyback-SSR-CVs
- SMPS
- LED-Treiber, Smart-Beleuchtung und Notbeleuchtung
- Adapter, Ladegeräte, Haushaltsgeräte und Lüfter
Technische Daten
- Maximaler VCC -Spannungsbereich: -0,5 V bis 26 V
- 0,5 W maximale Verlustleistung bei +50 °C
- 23 V maximale Betriebsversorgungsspannung
- Netzteil
- Maximaler VCC-Einschaltschwellenbereich: 12,0 V bis 13,1 V
- 30 μA typischer Einschaltstrom
- 2,0 mA typischer Versorgungsstrom
- 220 μA typischer Versorgungsstrom während der Burst-Pause
- 40 μA typischer Versorgungsstrom im Schutzmodus
- Nulldurchgangserkennung
- 45 mV typische fallende Flanke
- 55 mV typische steigende Flanke, 90 mV maximal
- 400 mV bis 700 mV Klemmbereich positive Spannungen
- -600 mV bis -400 V Klemmbereich negative Spannungen
- Spannungsmessung
- 0,5 µA bis 1,5 µA Ruhestrombereich
- 1,56 V bis 1,63 V Spannungsquelle für Optokoppler/Feedback-Versorgung
- 102 µA bis 154 µA Stromschwellenbereich für den Start
- 2,64 V bis 2,76 V Ausschaltbereich offener Pin
- 2,54 V bis 2,66 V Spannungsbereich für Neustart nach Überspannungsabschaltung
- ADC-Strombegrenzung
- 166 µA bis 260 µA unten (für maximale Einschaltzeit während des Betriebs)
- 500 µA bis 720 µA oben (für minimale Einschaltzeit im Burst-Modus)
- 185 K/W maximaler thermischer Sperrschicht-zu-Umgebungs-Widerstand
- Eingangsspannungserkennung
- 150 mV bis 250 mV Pin-Kurzschluss-zu-GND-Schwelle
- 1,9 V bis 2,1 V Überspannungsschwelle
- TD-Konfiguration
- 32 kΩ bis 48 kΩ interner Pull-Up-Widerstand für RTD-Messung vor dem Start
- Interner Pull-Up-Widerstand von 8 kΩ bis 12 kΩ für RUN-Zustand und RTD-Messung vor dem Start
- 18 kΩ bis 68 kΩ TD-Pin-Ableitwiderstand zur Konfiguration und zur Aktivierung der VS-Pin-Laststrommessung zur Ausgangsregelung
- Strommessung
- 570 mV bis 650 mV OCP1-Ausschaltschwellenbereich
- 160 ns typische OCP1-Anstiegsflanken-Ausblendzeit
- 1.140 mV bis 1.260 mV OCP2- Ausschaltschwellenbereich
- 150 ns typische OCP2-Auslösezeit
- 0,5 µA bis 1,5 µA CS-Pull-Up-Strom
- PWM-Erzeugung
- 47 µs bis 60 µs Wiederholzeitbereich
- 42 µs bis 52,5 µs Off-Time-Bereich
- Gate-Treiber
- 125 mA minimaler Quellstrom
- 250 mA minimaler Senkenstrom
- 10,4 V bis 11,6 V Spitzenspannungsbereich
- 6,5 V bis 7,5 V reduzierter Spitzenspannungsbereich
- Taktoszillatoren
- 200 ms typische Neustartzeit
- 25 ms typische schnelle Neustartzeit
- Temperatursensoren
- ±6 °C relative Genauigkeit
- +130 °C typische Abschalttemperatur
- ESD-Bewertungen
- 2 kV maximales Human Body Model (HBM) gemäß ANSI/ESDA/JEDEC JS-001
- 500 V maximales Charged-Device Model (CDM) gemäß ANSI/ESDA/JEDEC JS-002
- PG-DSO-8-Gehäuse
- -40 °C bis +150 °C maximaler Sperrschichttemperaturbereich
- +260 °C maximale Löttemperatur
Applikations-Schaltungsdiagramme
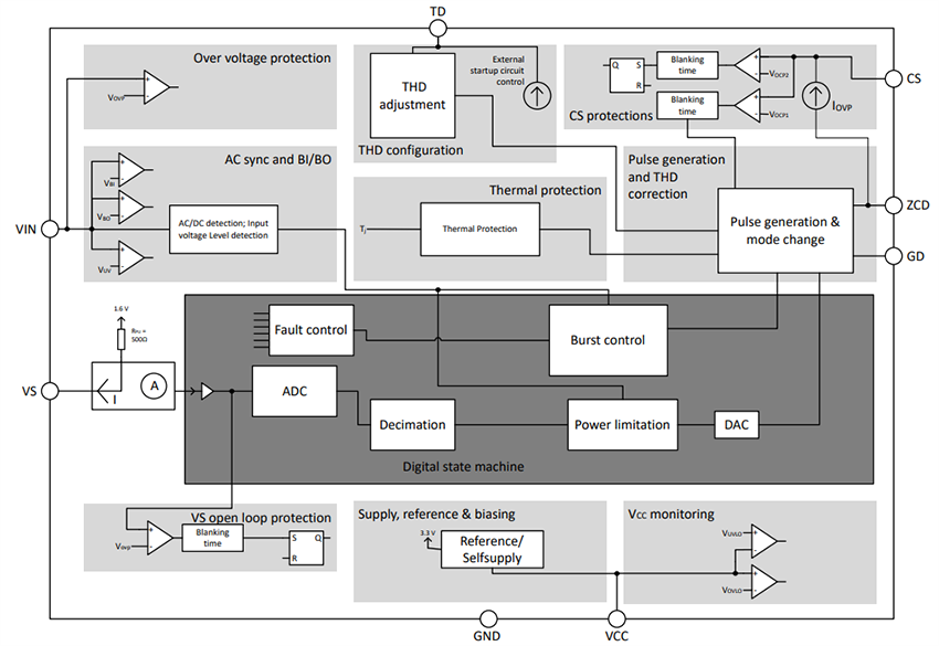
Blockdiagramm
Veröffentlichungsdatum: 2025-06-20
| Aktualisiert: 2025-07-31
