Infineon Technologies ILD6000 DC/DC-LED-Treiber-ICs
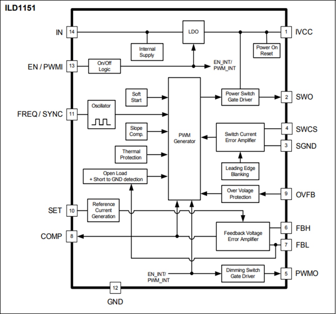
Die ILD6000 DC/DC-LED-Treiber-ICs von Infineon unterstützen Ströme von 700mA bis 1500mA, so dass sie die ideale Wahl für Hoch- und Ultra-Hochleistungs-LEDs für allgemeine Beleuchtungsanwendungen darstellen. Die Abwärts-Topologie wird durch die ILD6000-Familien unterstützt. Der ILD6000 ist ein funktionsreicher DC/DC-LED-Treiber-IC mit einer Durchlassspannung von 60V und fortschrittlichem Wärmeschutz. Der Wirkungsgrad kann in einem breiten Bereich von Betriebsbedingungen bis zu 98% sein. Für die überwiegende Mehrheit der Abwärts-LED-Treiber hat der Anwender die Wahl zwischen zwei Dimmer-Konzepten: PWM oder Analogspannung. Ein integrierter intelligenter Wärmeschutz sowie Überspannungs- und Überstromschutz tragen zu einer längeren Lebensdauer der LEDs bei.With the ILD4000 and ILD6000 families Infineon provides highly integrated smart LED buck controllers for high power LEDs. The ILD4000 series offers a breakdown voltage of 40V and basic thermal protection. The ILD6000 provides a breakdown voltage of 60V and advanced thermal protection. The ILD1151, a multi-topology high power DC-DC controller IC with built in protection features, offers a wide range of flexible dimming options.
Merkmale
- 4.5V to 60V wide usable input voltage
- Compatible with a big variety of LEDs
- Provides both PWM or analog dimming options
- Up to 98% high-efficiency
- 3000:1 contrast ratio
- Advanced thermal protection
- Adjustable thermal protection trigger point
- Small PG-DSO-8 exposed pad package
- No need for external NTC or PTC
- No change in light color during thermal protection mode
Applikationen
- LED driver for general lighting
- Retail, office, and residential downlights
- Street and tunnel lighting
- LED ballasts
Videos
Auswahlhilfe
Veröffentlichungsdatum: 2014-10-07
| Aktualisiert: 2025-02-12
