Infineon Technologies IR2233/IR2235 MOSFET- und IGBT-Antriebe

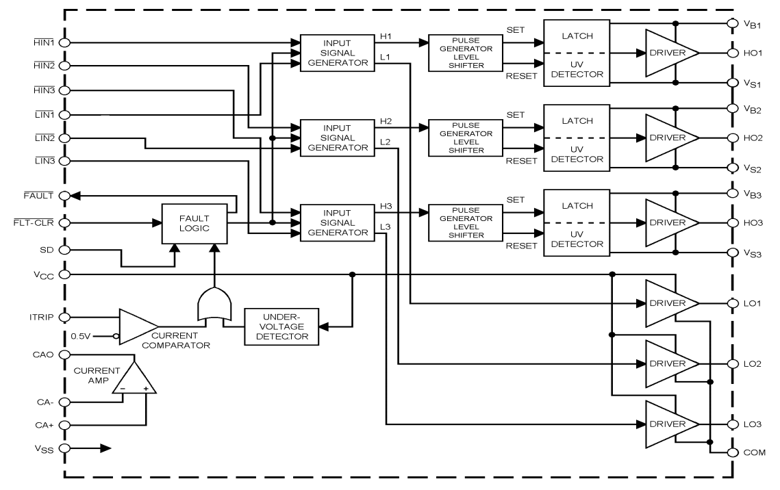
Die IR2233/IR2235 MOSFET- und IGBT-Treiber von Infineon Technologies  weisen  drei unabhängige High- und Low-Side-referenzierte Ausgangskanäle für Dreiphasen-Applikationen auf. Die proprietäre HVIC-Technologie ermöglicht eine robuste monolithische Bauweise. Logikeingänge sind mit CMOS- oder LSTTL-Ausgängen bis zu einer 2,5 V-Logik kompatibel. Ein unabhängiger Operationsverstärker bietet eine analoge Rückkopplung des Brückenstroms über einen externen Strommesswiderstand.

Merkmale

  • Potenzialfreier Kanal, der für den Bootstrap-Betrieb ausgelegt ist
  • Vollständig funktionsfähig bis zu +1.200 V
  • Vollständig funktionsfähig bis zu einer +600-V-Option (IR2135) verfügbar
  • Tolerant gegenüber negativer Transientenspannung
  • dV/dt-immun
  • Die Gate-Treiber-Versorgung reicht von 10 V/12 V bis 20 V DC und bis zu 25 V für Transiente
  • Unterspannungssperre für alle Kanäle
  • Überstrom-Abschaltung schaltet alle sechs Treiber aus
  • Drei unabhängige Halbbrückentreiber
  • Angepasste Laufzeitverzögerung für alle Kanäle
  • Kompatibel mit 2,5-V-Logikschaltung
  • Phasenversatz-Ausgänge mit Eingängen

Applikationen

  • Haushaltsgeräte
  • Motorsteuerung und -antriebe
  • Robotik
  • Haus- und Gebäudeautomatisierung
  • Industrie-Heizung und -Schweißen
  • Multikopter und Drohnen

Blockdiagramm

Blockdiagramm - Infineon Technologies IR2233/IR2235 MOSFET- und IGBT-Antriebe
Veröffentlichungsdatum: 2020-02-03 | Aktualisiert: 2024-09-26