Infineon Technologies LITIX™ Innenraum-LED-Treiber
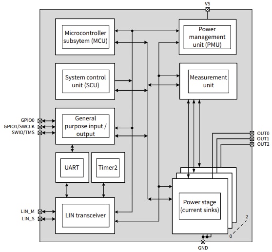
Infineon Technologies LITIX™ Interior LED-Treiber für Fahrzeug- Ambientbeleuchtung ist ein dreikanaliges Gerät mit integrierten und geschützten Ausgangs- Stufen. Dieser Treiber ist für die Steuerung von RGB- LEDs mit einem Strom von bis zu 51,5 mA als lineare Ableitvorrichtung (LCS) ausgelegt. Für höhere Lastströme können die Leistungsstufen parallel konfiguriert werden und die einzelnen Ausgänge sind über einen 5-Bit- Stromsollwert konfigurierbar. Der LITIX™ LED-Treiber verwendet die LIN-Schnittstelle zur Programmierung (über Bootloader), Steuerung und Diagnoserückmeldung. Dieser Treiber verfügt über 32 kB On-Chip-Flash-Speicher, 3 kB On-Chip-SRAM und 576Bytes 1000 TP On-Chip-Speicher.Merkmale
- 3-Kanal-Treiber (jeweils bis zu 51,5 mA)
- LIN-Schnittstelle mit LIN-Autoadressierung
- 32-Bit-Core ARM® Cortex®-M23
- 32 kB On-Chip-Flash und 3 kB On-Chip-SRAM
- 576Bytes 1000 TP On-Chip-Speicher
- 11-Bit-ADC für 0 V bis 8 V mit differentieller Messung
- PWM-Engine mit 16-Bit bei 610 Hz Auflösung
- Boot-ROM für Start-FW-Flashroutinen
- Oszillator auf dem Chip
- Debug mit 2-Draht-SWD
- 2 zusätzliche GPIOs
- Kleines gekapseltes Gehäuse (TFDSO-16)
- Leicht zu programmierende, bekannte MCU
- Einfache und stabile Softwareentwicklung
- Maximale Applikation
- Zusätzliche Sens- und Steuerungsfunktionen
Blockdiagramm
Typische Applikations-Schaltung
Weitere Ressourcen
Veröffentlichungsdatum: 2025-09-23
| Aktualisiert: 2025-10-13
