MACOM CMPA2735030S-AMP1 Evaluierungsboard
Das Wolfspeed CMPA2735030S-AMP1 Evaluierungsboard ist zur Evaluierung des CMPA2735030S Verstärkers ausgelegt. Der CMPA2735030S 30-W-GaN-MMIC-Leistungsverstärker mit 2,7 GHz bis 3,5 GHz verfügt über ein zweistufiges reaktiv angepasstes Verstärker-Design, das Hochleistung und einen zusätzlichen Wirkungsgrad in einem oberflächenmontierbaren QFN-Gehäuse von 5 mm x 5 mm ermöglicht.Das Wolfspeed CMPA2735030S-AMP1 Evaluierungsboard wird mit dem CMPA2735030S-Verstärker geliefert.
Merkmale
- Kleinsignal-Gain von 32 dB
- Betrieb bis zu 50 V
- Hohe Durchschlagspannung
- Hohe Betriebstemperatur
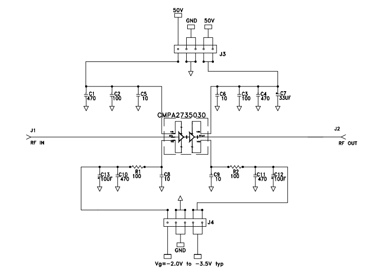
Applikations-Schaltung
Veröffentlichungsdatum: 2021-09-10
| Aktualisiert: 2024-01-17
