Microchip Technology 24CS512 Serielle 3,4-MHz-I2C-EEPROMs

Microchip Technology 24CS512 Serielle I2C-EEPROMs mit 3,4 MHz bieten einen seriellen EEPROM von 512 KBits, der eine serielle I2C-Schnittstelle (2-Draht) verwendet. Sie verfügen über eine Hochgeschwindigkeitsmodus-Fähigkeit von 3,4 MHz. Die Bauteile sind in 65.536 Byte von jeweils 8 Bits (64 Kbyte) organisiert und für den Einsatz in Unterhaltungselektronik- und Industrieapplikationen optimiert, bei denen ein zuverlässiger und verlässlicher nichtflüchtiger Speicher erforderlich ist. Der 24CS512 ermöglicht bis zu acht Bauteilen einen gemeinsamen I2C-Bus (2-Draht) zu teilen und ist zu einem Betrieb über einen großen Spannungsbereich (1,7 V bis 5,5 V) fähig.

Merkmale

  • 512-KBit-EEPROM
    • Intern als ein 65.536 x 8-Bit-Block organisiert
    • Byte- oder Seitenschreibvorgänge von bis zu 128 Byte
    • Byte- oder sequentielle Lesevorgänge innerhalb eines Blocks
    • Selbstauslösender Schreibzyklus (5 ms max.)
  • Hochgeschwindigkeits-I2C-Schnittstelle
    • Hochgeschwindigkeits-Modus-Unterstützung für 3,4 MHz
    • Industriestandard: 1 MHz, 400 kHz und 100 kHz
    • Ausgangssteigungssteuerung zur Beseitigung von Erdungsprellen
    • Schmitt-Trigger-Eingänge für Rauschunterdrückung
  • Sicherheitsregister
    • Vorprogrammierte 128-Bit-Seriennummer
    • Benutzerprogrammierbare, verriegelbare 128-Byte-ID-Seite
  • Integrierte Fehlerbehebungscode-Logikschaltung (ECC)
    • ECC-Status-Bit über das Konfigurationsregister
  • I2C-Herstelleridentifikations-Funktionsunterstützung
  • Vielseitige Datenschutzoptionen
    • Hardware-Schreibschutz-Pin (WP) für vollständigen Array-Datenschutz
    • Verbesserter Software-Schreibschutz über das Konfigurationsregister
  • Betriebsspannungsbereich von 1,7 V bis 5,5 V
  • CMOS-Technologie mit geringem Stromverbrauch
    • Schreibstrom: 3,0 mA bei 5,5 V (max.)
    • Lesestrom: 1,0 mA bei 5,5 V, 1 MHz (max.)
    • Standby-Strom: 1 µA bei 5,5 V
  • Hohe Zuverlässigkeit
    • Mehr als 1 Million Lösch-/Schreibzyklen
    • Integrierte ECC-Logikschaltung für eine erhöhte Zuverlässigkeit
    • Datenhaltung: > 200 Jahre
    • ESD-Schutz: > 4.000 V
  • RoHs-konform
  • Temperaturbereiche
    • Industrie (I): -40 °C bis +85 °C

Systemkonfiguration mit seriellen EEPROMs

Microchip Technology 24CS512 Serielle 3,4-MHz-I2C-EEPROMs

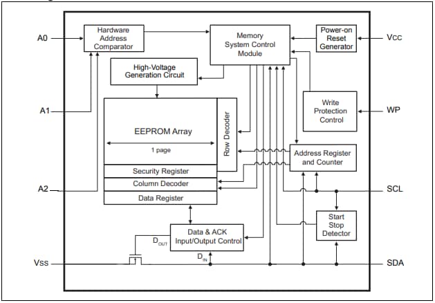
Blockdiagramm

Microchip Technology 24CS512 Serielle 3,4-MHz-I2C-EEPROMs

Videos

Veröffentlichungsdatum: 2021-02-18 | Aktualisiert: 2022-03-11