Microchip Technology AT21CS11 serieller 1Kb-EEPROM
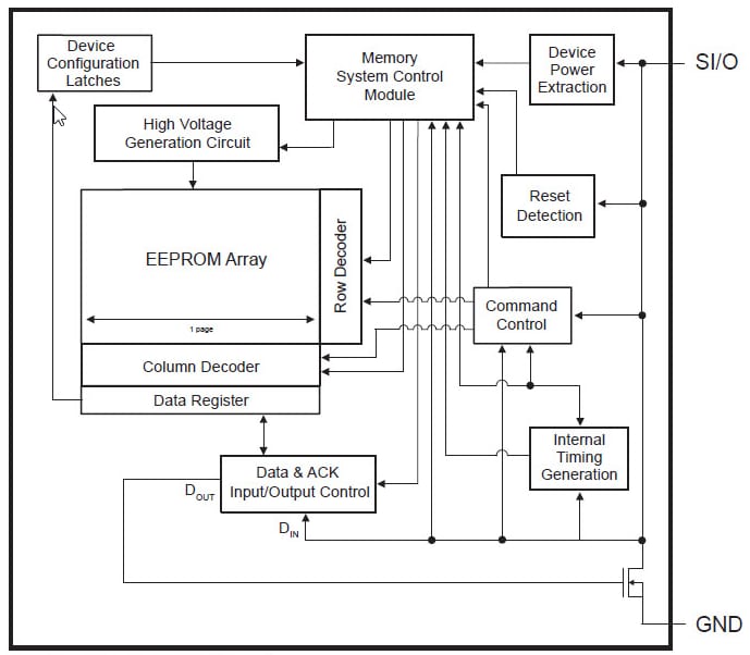
Das AT21CS11 serielle 1Kb-EEPROM von Microchip ist ein 2-Pin-Speicher (SI/O Signal und Erdung), der Energie aus dem Signal-Pin bezieht, um einen integrierten Schaltkreis für den Einsatz in Verbraucher- und Industrieapplikationen zu versorgen. Das AT21CS11 nutzt den Eindraht-Bus und benötigt nur zwei Pins (SI/O und GND) für den Zugriff auf das Bauteil. Das SI/O-Signal ist eine Kombination aus Daten- und Stromleitung und versorgt das Bauteil mit einem parasitären Energiesystem.Microchip Technology AT21CS11 1Kb Serial EEPROM is available in 8-pin SOIC (150 mil), 3-pin SOT23, 2-pad XSFN, and 4-ball Thin CSP packages.
Merkmale
- 128x8 (1Kbit)
- Low power consumption:
- Read current 0.08mA (Typical), 0.3mA (Max)
- Write current 0.2mA (Typical), 0.5mA (Max)
- Standby current 0.7uA (Typical), 2.5uA (Max)
- Software write protection:
- Four independent 256-bit zones
- High speed (125kbps) mode
- Available in 8-pin SOIC (150 mil), 3-pin SOT23, 2-pad XSFN, and 4-ball Thin CSP packages
- Factory programming available
- Self-timed erase and write cycles (5ms max.)
- Single-wire compatible:
- I2C protocol structure
- Communication through a single I/O pin
- More than 1 million erase/write cycles
- Data retention > 100 years
- ESD protection > 8000V (HBM)
Videos
Block Diagram
Veröffentlichungsdatum: 2017-11-09
| Aktualisiert: 2022-04-05
