Microchip Technology BM63 Bluetooth-Audio-Testplatine

Die Microchip Technology BM63 Testplatine bietet eine Plattform, auf der die Designer die Funktionen und die Leistung des vollständig zertifizierten Bluetooth® Version 4.2 BM63 Stereo-Audio-Moduls auswerten können. Mit den BM63 Stereo-Audio-Modulen können Entwickler drahtlose Bluetooth-Audio- und Sprachfunktionen ihren Anwendungen hinzufügen. Das in der BM63 Testplatine integrierte Design verfügt über eine Programmierschnittstelle für Plug-and-Play-Fähigkeit und schnelles Prototyping. Zusätzliche Funktionen umfassen einen eingebauten 3W Stereo-Audio-Verstärker der Klasse D, eine eingebaute Near-Field-Kommunikation (NFC), einen Stereo-Audio-Ausgang, I/O-Kontakte und Daten- und Konnektivitätsstatus-LEDs. Die Platine umfasst Eingänge für ein MIKROFON und eine AUX-Buchse und eine Headset-Ausgangsbuchse. Zusätzlich ist ein CDA-Ausgangssteckverbinder verfügbar. Sieben Steuertasten bieten eine einfache Audio-Steuerung. Designer können die Platine so konfigurieren, dass sie von einem Host-Controller über einen einfachen MCU-Anschluss gesteuert oder im eigenständigen Modus betrieben werden können.

The BM63 Evaluation Board's integrated design features a programming interface for plug-and-play capability and rapid prototyping. Additional features include a built-in 3W Class-D stereo audio amplifier, built-in near field communication (NFC), stereo audio output, and data and connection status LEDs.

Designers can configure the board to be controlled by a host controller via a simple MCU connector or operate stand-alone mode.

Merkmale

  • Based on the fully-certified BLUETOOTH® 4.2 BM63 stereo audio module
  • On-board MCU (PIC18F85J10) and DSP audio amplifier for easy operation and feature demonstration
  • Powered by a PC host using the micro-USB cable or by connecting a Li-Ion battery
  • Built-in 3W Class-D stereo audio amplifier
  • Built-in Near Field Communication (NFC)
  • Stereo audio output for high-quality audio
  • Easy access to I/O pins
  • Connection and data status LEDs

Lieferumfang Kit

  • One BM-63-EVB, which contains the BM63SPKA1MGA-0001AC
  • One micro-USB cable
  • Two speaker cables
  • One 5V DC power adapter

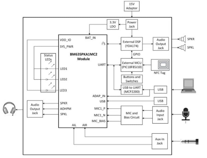
BM63 Evaluation Board Block Diagram

Blockdiagramm - Microchip Technology BM63 Bluetooth-Audio-Testplatine

BM63 Evaluation Board Board Layout

Schaltplan - Microchip Technology BM63 Bluetooth-Audio-Testplatine

On the Board Modules

1. BM63SPKA1MC2 module
2. Three status LEDs
3. NFC tag
4. Mode switch (SW9)
5. USB connector (P9)
6. USB to UART converter (MCP2200)
7. UART port over USB connector (P3)
8. Onboard MCU (PIC18F85J10)
9. ICSP header (J5)
10. Audio control buttons, Multi-Function Button (MFB), and pairing mode button
11. 15V adapter jack (P2)
12. Internal/external MCU selection switch (SW46)
13. Internal/external DSP audio amplifier selection switch (SW47)
14. On-board DSP (YDA174) with built-in audio amplifier
15. Audio connector (CN1 and CN2)
16. External MCU/DSP header (J6)
17. Auxiliary input 3.5mm jack (P8)
18. Microphone input 3.5mm jack (P6)
19. Speaker output 3.5mm jack (P7)
20. Reset button for the BM63 module (SW10)
21. Reset button for MCU (SW1)

Veröffentlichungsdatum: 2016-09-12 | Aktualisiert: 2022-03-11