Microchip Technology DSC12X2/3/4 Standard-Taktoszillatoren
Die Standard-Taktoszillatoren DSC12X2/3/4 von Microchip Technology nutzen die Silizium-MEMS-Technologie, um das Rauschen im Nahbereich reduzieren und einen hervorragenden Jitter bieten zu können. Die Oszillatoren bieten Stabilität über einen weiten Bereich von Versorgungsspannungen und Temperaturen. Diese MEMS-Oszillatoren machen den Einsatz von Quarz- oder SAW-Technologie überflüssig. Dies erhöht die Zuverlässigkeit erheblich und beschleunigt die Produktentwicklung. Die Bauteile erfüllen strenge Taktleistungskriterien für verschiedene Kommunikations-, Speicher- und Netzwerkanwendungen.Merkmale
- < 650 fs (typischerweise) sehr niedriger RMS-Phasenjitter
- ±20 ppm, ±25 ppm, ±50 ppm hohe Stabilität
- Großer Temperaturbereich
- -40 °C bis +125 °C (nur DSC12x3 LVDS) Fahrzeuganwendungen
- -40 °C bis +105 °C erweiterte industrielle Anwendungen
- -40 °C bis +85 °C industriell
- -20 °C bis +70 °C kommerziell
- Unterstützt LVPECL-, LVDS- und HCSL-Differenzausgänge
- Mit PCIe Gen1-5 kompatibler Ausgang
- Großer Frequenzbereich: 2,5 MHz bis 450 MHz
- Kleine Anschlussflächen nach Industriestandard
- 2,5 mm x 2,0 mm
- 3,2 mm x 2,5 mm
- 5,0 mm x 3,2 mm
- 7,0 mm x 5,0 mm
- Vibrationsfestigkeit
- Qualifiziert nach MIL-STD-883
- Hochzuverlässig
- – 20x besserer MTF als Quarzoszillatoren
- Versorgungsspannungsbereich von 2,25 V bis 3,63 V
- Funktionen für Standby, Frequenzwahl und Ausgangsfreigabe
- Bleifrei und RoHs-konform
Applikationen
- Speichernetzwerke
- Passive optische Netze
- 10/100G-Ethernet
- HD/SD/SDI-Video und Überwachung
- PCI-Express Gen. 1/2/3/4
- Display-Anschluss
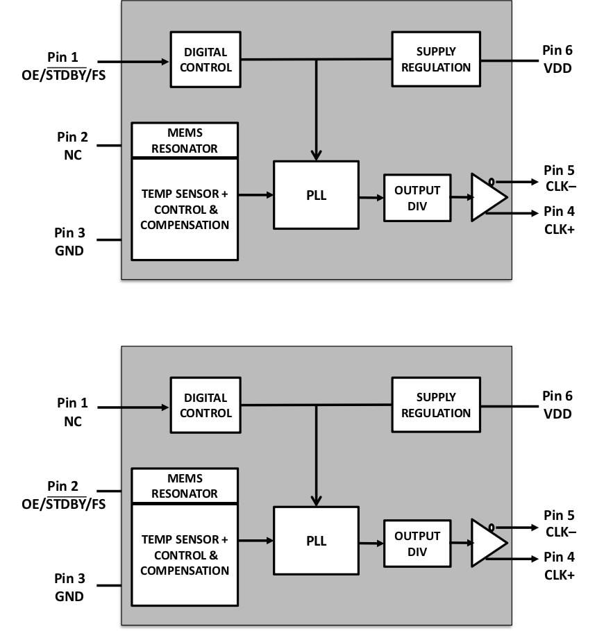
Blockdiagramm
Veröffentlichungsdatum: 2022-10-03
| Aktualisiert: 2022-10-04
