Microchip Technology EMC1414 Mehrkanal-Temperatursensoren
Microchip Technology EMC1414 Mehrkanal-Temperatursensoren sind kostengünstige Systemmanagement-Bus(SMBus)-Temperatursensoren mit hoher Genauigkeit. Die EMC1414 Temperatursensoren überwachen vier Temperaturkanäle und bieten eine Genauigkeit von ±1 °C für die Diodentemperatur. Diese Mehrkanal-Temperatursensoren verfügen über eine Widerstandsfehlerbehebung (REC), eine Beta-Kompensation und eine automatische Erkennung des Diodentyps zur Bereitstellung einer robusten Lösung für komplexe Umgebungsüberwachungsapplikationen. Die EMC1414 Temperatursensoren eignen sich hervorragend für den Einsatz in Notebooks, Desktop-Computern, Industrie- und Embedded-Applikationen.Merkmale
- Programmierbare SMBus-Adresse
- Unterstützung für Dioden, die ein BJT-/Transistor-Modell erfordern
- Unterstützt CPU-Wärmedioden von 45 nm, 65 nm und 90 nm
- Legt automatisch den externen Diodentyp und die optimalen Einstellungen fest
- Widerstandsfehlerbehebung (REC)
- Bis zu 3 externe Temperaturüberwachungen:
- Genauigkeit von ±1 °C (max.) (20 °C < TDIODE < 110 °C)
- Auflösung: 0,125 °C
- Unterstützt einen Dioden-Filterkondensator bis zu 2,2 nF
- Antiparalleldioden für zusätzliche Dioden-Unterstützung
- Interne Temperaturüberwachung:
- Genauigkeit: ±1 °C
- Auflösung: 0,125 °C
- Versorgungsspannung: 3,3 V
- Programmierbare Temperaturgrenzen für ALERT
- Erhältlich in den folgenden bleifreien und RoHS-konformen Gehäusen:
- 10-Pin-DFN von 3 mm x 3 mm
- 10-Pin-MSOP
Applikationen
- Notebook-Computer
- Desktop-Computer
- Industrie
- Embedded
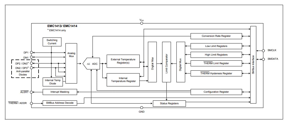
Blockdiagramm
Veröffentlichungsdatum: 2019-12-23
| Aktualisiert: 2023-06-12
