Microchip Technology IS1870/71 BLUETOOTH® Low Energy SoCs

Microchip Technology IS1870/71 BLUETOOTH® Low Energy-SoCs bestehen aus einem 2,4 GHz Einschwinger-Prüfkopf, einer Leistungsmanagementeinheit (PMU), einem BLUETOOTH Low Energy-Software-Stapel von Microchip und einem HF-Leistungsverstärker.

Die Microchip IS1870/71 Bluetooth Low Energy SoCs bieten eine einfache Integration und Programmierung, reduzierte Entwicklungszeit, hervorragende Bluetooth Low Energy-Lösung mit einem kostengünstigen System, Interoperabilität mit Apple® iOS und Android™ OS und eine breite Palette von Applikationsunterstützung.

Das IS1870/71 SoC ist für eine stromsparende drahtlose Verbindung optimiert und die Gehäusegröße mit kleinem Formfaktor ist für Wearables ausgelegt.

Merkmale

  • Bluetooth Smart 4.2 Bluetooth Low Energy-konform
  • 256 KByte integrierter Flash-Speicher
  • Unterstützt UART-/SPI-/I2C-Schnittstelle
  • Integrierter Quarzoszillator arbeitet mit externem 32 MHz-Quarz
  • Unterstützt Temperatursensor
  • 31 Universal-I/O-Pins (GPIO) für IS1870 SoC und 15 GPIO-Pins für IS1871 SoC
  • Unterstützt eine 4-Kanal-Pulsweitenmodulation (PWM) für das IS1870 SoC und Einkanal-PWM für das IS1871 SoC
  • Unterstützt einen 12-Bit-ADC (ENOB=10 oder 8 Bits) für die Batterie- und Spannungserkennung
  • 16-Kanal-ADC für IS1870 SoC und 6-Kanal-ADC für IS1871 SoC sind verfügbar
  • AES-CMAC Hardware-Engine
  • Beacon-Unterstützung
  • Geringer Stromverbrauch
  • Kompakte Größe:
    • IS1871 in einem 32-QFN-Gehäuse von 4 mm x 4 mm
    • IS1870 in einem 48QFN-Gehäuse von 6 mm x 6 mm

Applikationen

  • Internet of Things (IoT)
  • Wearables, Fitness oder Gesundheitswesen
  • Waage
  • Proximity/Find Me-Dienste
  • Sichere Zahlungssysteme
  • Digitale Beacons
  • Verbrauchergeräte oder Heimautomatisierung
  • Industrie

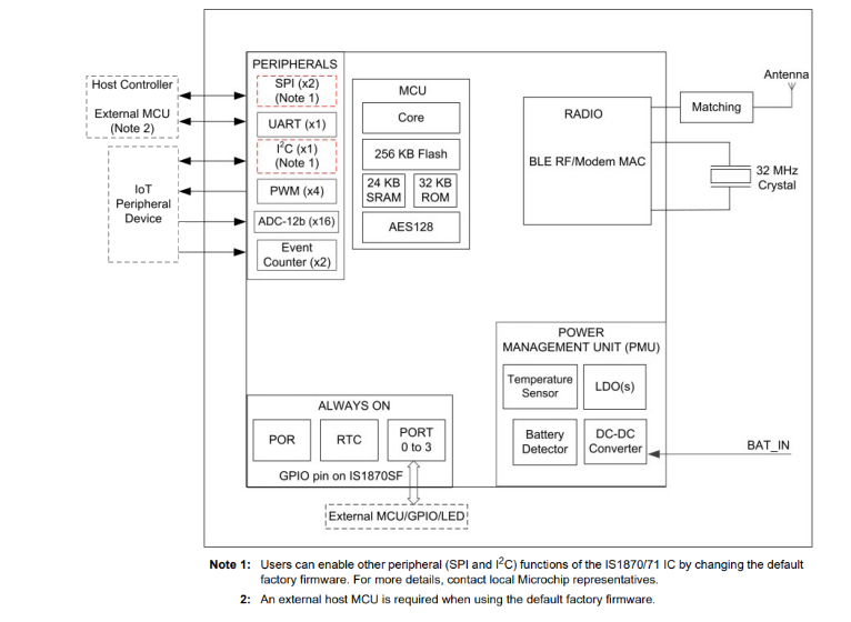
IS1870 Blockdiagramm

Blockdiagramm - Microchip Technology IS1870/71 BLUETOOTH® Low Energy SoCs

IS1871 Blockdiagramm

Blockdiagramm - Microchip Technology IS1870/71 BLUETOOTH® Low Energy SoCs

Videos

Veröffentlichungsdatum: 2021-03-15 | Aktualisiert: 2024-10-30