Microchip Technology KSZ8041 Ethernet-Transceiver
Microchip Technology KSZ8041 Ethernet-Transceiver sind Einzelversorgungs-10BASE-T-/100BASE-TX-Physical-Layer-Transceiver, die MII-/RMII-/SMII-Schnittstellen zum Senden und Empfangen von Daten bereitstellen. Diese Transceiver nutzen ein einzigartige Mischsignal-Design zur Verlängerung der Signalstrecke bei gleichzeitiger Reduzierung des Stromverbrauchs. Die KSZ8041 Transceiver verfügen über HP-Auto-MDI/MDI-X, das die stabilste Lösung zur Beseitigung der Notwendigkeit zur Unterscheidung zwischen Crossover- und Straight-Through-Kabeln bereitstellt. Die LinkMD® TDR-basierten Kabeldiagnosefunktionen ermöglichen die Identifizierung von fehlerhafter Kupferverkabelung.Die KSZ8041RNL Transceiver sind eine erweiterte RMII-Version des KSZ8041NL, der keinen 50MHz-Systemtakt erfordert. Diese Transceiver verwenden einen 25MHz-Quarz für ihren Eingangsreferenztakt und geben einen RMII-Referenztakt von 50 MHz zum MAC aus. Die KSZ8041NL und KSZ8041RNL Transceiver sind in einem bleifreien 32-Pin-QFN-Gehäuse verfügbar. Die KSZ8041TL und KSZ8041FTL Transceiver sind in einem bleifreien 48-Pin-TQFP-Gehäuse verfügbar. Die KSZ8041MLL Transceiver sind in einem bleifreien 48-Pin-LQFP-Gehäuse untergebracht. Zu den typischen Applikationen gehören Drucker, Spielkonsolen, IPTVs, IP-Telefone, IP-Set-Top-Box und Medienkonverter.
Merkmale
- 10BASE-T-/100BASE-TX-Einzelchip-Physical-Layer-Lösung
- Vollständig konform mit IEEE 802.3u Standard
- Stromsparend:
- Stromverbrauch von <180 mW
- Abschalt- und Stromsparmodi
- Eingebauter 1,8V-Regler für Core
- 3,3 V Einzelstromversorgung
- HP-Auto-MDI/MDI-X für eine zuverlässige Erfassung und Korrektur von Straight-Through- und Crossover-Kabeln mit Deaktivierungs- und Aktivierungs-Optionen
- Robuster Betrieb über Standard-Kabel
- MII-Schnittstellenunterstützung (nur KSZ8041NL)
- RMII-Schnittstellenunterstützung
- Externer 50MHz-Systemtakt (KSZ8041NL oder KSZ8041TL/FTL)
- 25 MHz Quarz/Takteingang und 50 MHz Referenztaktausgang zu MAC (KSZ8041RNL)
- SMII-Schnittstellenunterstützung:
- Externer 125MHz-Systemtakt und 12,5MHz-Sync-Takt von MAC (nur KSZ8041TL/FTL)
- Glasfaserunterstützungs-100Base-FX (nur KSZ8041FTL)
- MIIM-(MDC/MDIO)-Management-Bus bis zu 6,25 MHz für eine schnelle PHY-Registerkonfiguration
- Interrupt-Pin-Option
- Programmierbare LED-Ausgänge für Link, Aktivität und Geschwindigkeit
- 6 kV ESD-Einstufung
- Verschiedene Gehäuse:
- 32-Pin-QFN (5 mm x 5 mm)
- 48-Pin-LQFP (KSZ8041MLL)
- 48-Pin-TQFP (KSZ8041TL/FTL)
Applikationen
- Drucker
- Spielkonsolen
- IPTV
- IP-Telefon
- IP-Set-Top-Box
- Medienkonverter
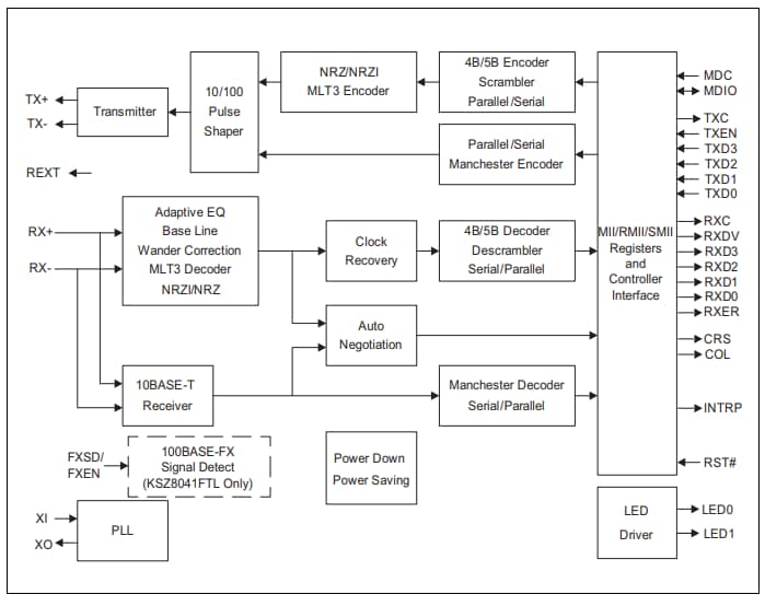
KSZ8041Tl/FTL Ethernet-Transceiver Blockdiagramm
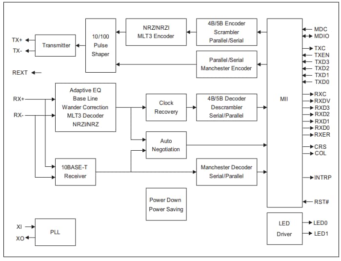
KSZ8041MLL Ethernet-Transceiver Blockdiagramm
Veröffentlichungsdatum: 2018-06-11
| Aktualisiert: 2025-06-13
