Microchip Technology MCP1662 LED-Beleuchtungstreiber
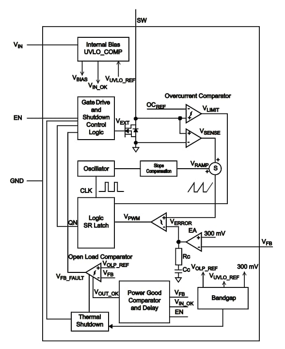
Microchip Technology MCP1662 LED-Beleuchtungstreiber sind kompakte, platzsparende, nicht-synchrone Festfrequenz-Aufwärtswandler. Diese LED-Treiber sind für die Ansteuerung von LED-Ketten mit einem Konstantstrom von Zwei- oder Dreizellen-Alkali- oder Lithium-Energizer-, NiCd-/NiMH- oder Einzellen-Lithium-Ionen- oder Li-Polymer-Batterien optimiert. Die MCP1662 Beleuchtungstreiber kombinieren einen 36-V- und 800-mΩ-Low-Side-Schalter, der durch einen Zyklus-für-Zyklus-Induktivitäts-Strombegrenzungsbetrieb von 1,3 A geschützt ist. Die LED-Beleuchtungstreiber sind mit einer Unterspannungssperre (UVLO) ausgestattet, die ein Einschalten mit niedrigen Eingängen oder entladenen Batterien bei Zweizellen-betriebenen Applikationen verhindert. Diese MCP1662 Treiber bieten einen offenen Lastschutz. Zu den typischen Applikationen gehören Kamerablitzsysteme, medizinische Geräte, LED-Taschenlampen und Hintergrundbeleuchtungs-Stromquellen.Merkmale
- Integrierter Schalter mit 36 V und 800 MΩ
- Wirkungsgrad von bis zu 92 %
- Steuern LED-Ketten mit Konstantstrom an
- Spitzen-Eingangsstrombegrenzung: 1,3 A
- Eingangsspannungsbereich: 2,4 V bis 5,5 V
- Rückkopplungs-Spannungsreferenzen: 300 mVFB
- Unterspannungssperre (UVLO)
- Anstieg von 2,3 VIN (typisch)
- Abfall von 1,85 VIN (typisch)
- Ruhemodus mit 20 nA Ruhestrom (typisch)
- Schaltfrequenz-PWM-Betrieb: 500 kHz
- Zyklus-für-Zyklus-Strombegrenzung
- Interne Kompensation
- Offener Lastschutz (OLP) bei:
- Feedback-Pin kurzgeschlossen auf GND
- Getrennte LED-Kette
- Übertemperaturschutz
Applikationen
- Zwei- und Drei-Zellen-Alkali- oder NiMH-/NiCd-Treiber für weiße LED-Treiber für Hintergrundbeleuchtungsprodukte
- LED-Beleuchtungsapplikation mit Li-Ionen-Batterie
- Kamerablitz
- LED-Taschenlampen und Hintergrundbeleuchtungs-Stromquelle
- Medizinische Geräte
- Tragbare Geräte:
- Handheld-Spielkonsolen
- GPS-Navigationssysteme
- LCD-Monitore
- Tragbare DVD-Player
Blockdiagramm
Typische Applikations-Schaltung
Veröffentlichungsdatum: 2019-12-24
| Aktualisiert: 2023-06-12
