Microchip Technology PIC16(L)F18426/46 MCUs mit niedriger Pinzahl
Microchip PIC16(L)F18426/46 MCUs mit niedriger Pinzahl kombinieren intelligente analoge, Core-unabhängige Peripherien (CIPs) und Kommunikations-Peripherien mit eXtreme Low Power (XLP) für verschiedene Applikationen. Diese MCUs verfügen über einen 12-Bit-Analog-Digital-Wandler mit Berechnung (ADC2), Geräteinformationsbereich (DIA), Speicherzugriffspartition (MAP) und Peripheriepinauswahl (PPS). Die PIC16(L)F18426/46 MCUs mit niedriger Pinzahl besitzen bis zu 28 KB Flash-Speicher, 2 KB SRAM-Speicher und 256 B EEPROM-Datenspeicher. Diese MCUs haben verschiedene digitale Peripherien, einschließlich vier konfigurierbare Logikzellen (CLCs), zwei komplementäre Wellenformgeneratoren (CWGs) und bis zu 18 I/O-Pins. Die analogen Peripherien umfassen Analog-Digital-Wandler, Digital-Analog-Wandler, Nulldurchgangserkennung (ZCD), Temperatursensorschaltung, festgelegtes Spannungsreferenzmodul (FVR). Die PIC16(L)F18426/46 MCUs mit niedriger Pinzahl setzen Stromsparfunktionen ein, wobei die CPU und die Peripherien mit verschiedenen Zyklusraten betrieben werden. Diese MCUs mit niedriger Pinzahl eignen sich hervorragend für eine große Auswahl von Universal- und stromsparenden Applikationen.Merkmale
- C-Compiler-optimierte RISC-Architektur
- Betriebsgeschwindigkeit:
- 32 MHz Takteingang für DC
- Min. 125 ns Befehlszyklus
- Interrupt-Fähigkeit
- 16-Level-Hardware-Stack
- Timer:
- Bis zu zwei 24-Bit-Timer
- Bis zu vier 8-Bit-Timer
- Bis zu vier 16-Bit-Timer
- Watchdog-Timer mit Fenster (WWDT):
- Variable Vorteilerauswahl
- Variable Fenstergrößenauswahl
- In Hardware und/oder Software konfigurierbar
- Stromsparendes Power-on-Reset (POR)
- Konfigurierbarer Power-Up-Timer (PWRT)
- Spannungsabfall-Wiedereinschaltung (Brown-Out Reset (BOR))
- Stromsparende BOR-Option (LPBOR)
- Speicher:
- Bis zu 28 Kb Flash-Programmspeicher
- Bis zu 2 Kb SRAM-Datenspeicher
- 256 Bytes EEPROM-Daten
- Programmierbarer Code-Schutz
- Direkte, indirekte und relative Adressmodi
- Speicherzugriff-Partition (MAP):
- Schreibschutz
- Anpassbare Partition
- Betriebsspannungsbereich:
- 1,8 V bis 3,6 V (PIC16LF184XX)
- 2,3 V bis 5,5 V (PIC16F184XX)
- Betriebstemperaturbereich:
- Industrieller Betriebstemperaturbereich: –40 °C bis 85 °C
- Für erweiterten Betrieb: -40 ºC bis 125 ºC
- Stromsparende Betriebsmodi:
- Doze-Modus - CPU und Peripheriekomponenten werden mit unterschiedlichen Zyklusraten betrieben
- Idle-Modus - CPU wird angehalten und Peripheriekomponenten laufen
- Schlafmodus - niedrigster Stromverbrauch
- Extrem stromsparender Modus (XLP)
- Peripheriemodul-Deaktivierung (PMD) - Fähigkeit das Hardware-Modul zur Reduzierung des Stromverbrauchs in nicht genutzten Peripheriekomponenten zu deaktivieren
- eXtreme Low Power (XLP) Funktionen:
- Schlafmodus - 50 nA bei 1,8 V
- Watchdog-Timer - 500 nA bei 1,8 V
- Sekundäroszillator - 500 nA bei 32 kHz
- Betriebsstrom:
- 8 µA bei 32 kHz, 1,8 V
- 32 µA/MHz bei 1,8 V
- Digitale Peripheriekomponenten:
- Konfigurierbare Logikzelle (CLC):
- 4 CLCs
- Integrierte kombinatorische und sequentielle Logik
- Komplementärer Wellenformgenerator (CWG):
- 2 CWGs
- Deadband-Steuerung mit steigender und fallender Flanke
- Vollbrücken-, Halbbrücken- und 1-Kanal-Antrieb
- Mehrere Signalquellen
- Capture-/Compare-/PWM-Module (CCPs):
- 4 CCPs
- 16-Bit-Auflösung für Capture-/Compare-Modi
- 10-Bit-Auflösung für PWM-Modus
- Pulsweitenmodulatoren (PWM):
- 2 10-Bit-PWMs
- Numerisch gesteuerter Oszillator (NCO):
- 0 Hz <fNCO
- fNCO/220 Auflösung
- Peripheriepinauswahl (PPS):
- I/O-Pin-Neuzuordnung von digitalen Peripheriekomponenten
- Serielle Kommunikationen:
- EUSART:
- 1 EUSART (s)
- RS-232-, RS-485- und LIN-kompatibel
- Autobaud-Erkennung und Auto-Aufweckfunktion beim Einschalten
- Zwei Master Synchronous Serial Port (MSSP) Module
- 2 MSSP(s)
- SPI
- I2C-, SMBus- und PMBus™-kompatibel
- EUSART:
- Datensignalmodulator (DSM)
- Bis zu 18 I/O-Pins:
- Timer-Module
- Konfigurierbare Logikzelle (CLC):
- Analoge Peripheriekomponenten:
- Analog-Digital-Wandler mit Berechnung (ADC2)
- Nulldurchgangserkennung (ZCD)
- Temperatursensor-Schaltung
- Komparator
- Digital-Analog-Wandler (DAC)
- Festgelegtes Spannungsreferenzmodul (FVR)
- Flexible Oszillatorstruktur
- Interner präziser Oszillator
- 4x PLL für die Verwendung mit externen Quellen
- 2x PLL für die Verwendung mit HFINTOSC
- Interner stromsparender 31kHz-Oszillator (LFINTOSC)
- Externer 32,768kHz-Quarz-Oszillator (SOSC)
Weitere Ressourcen
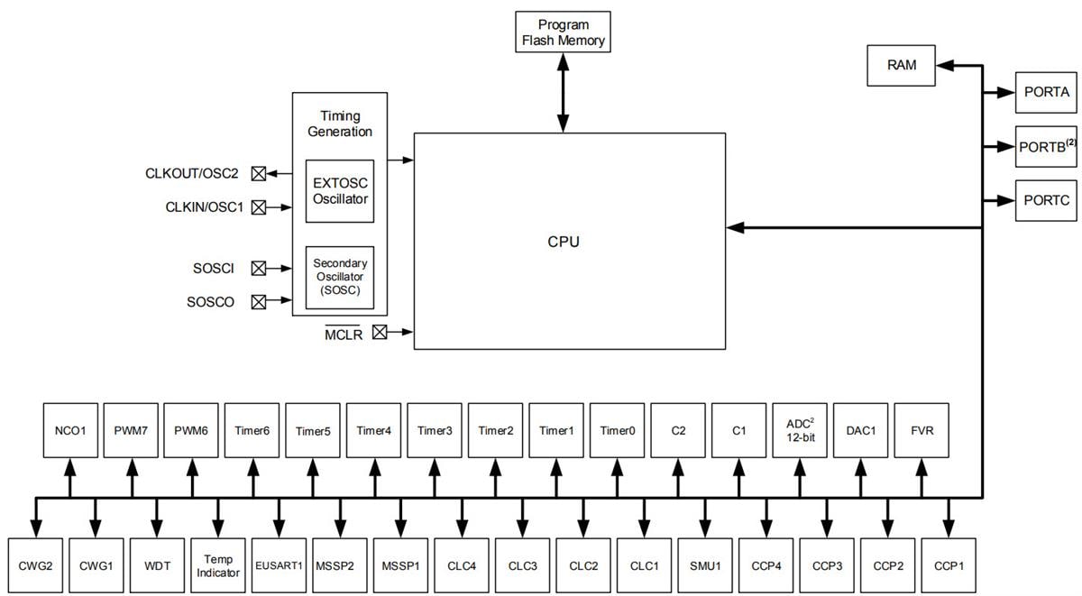
Blockdiagramm PIC16(L)F18426/46 MCUs mit niedriger Pinzahl
Veröffentlichungsdatum: 2018-03-29
| Aktualisiert: 2022-10-03
