Microchip Technology PIC16F17154/55/74/75 Mikrocontroller

Die Mikrocontroller PIC16F17154/55/74/75 von Microchip Technology verfügen über eine analoge Peripherie für Präzisionssensor-Applikationen. Die Mikrocontroller PIC16F17154/55/74/75 von Microchip Technology sind in 8- bis 44-poligen Gehäusen mit Speichergrößen von 7 KB bis 28 KB und Geschwindigkeiten von bis zu 32 MHz erhältlich. Die MCUs umfassen einen rauscharmen Operationsverstärker, einen 12-Bit-Differential-ADC mit Rechenfunktion, zwei 8-Bit-DACs, eine 16-Bit-PWM und zusätzliche Wellenformsteuerungs- und Kommunikationsperipherien. Dieses kompakte, funktionsreiche Bauteil eignet sich hervorragend für kostengünstige, energieeffiziente analoge Sensorapplikationen, die eine hohe Auflösung erfordern.

Merkmale

  • C-Compiler-optimierte RISC-Architektur
  • Betriebsgeschwindigkeit: DC bis 32 MHz Takteingang
  • Mindest-Befehlszeit: 125 ns
  • 16-level Deep-Hardware-Stack
  • Power-On-Reset (POR) mit geringem Stromverbrauch
  • Konfigurierbarer Einschalt-Timer (PWRT)
  • Spannungsabfall-Wiedereinschaltung (Brown-Out Reset, BOR)
  • Spannungsabfall-Wiedereinschaltung mit niedrigem Energieverbrauch (Low-Power Brown-Out Reset, LPBOR)
  • Windowed Watchdog Timer (WWDT)

Applikationen

  • Präzisionssensoren
  • Kostengünstige Analogsensoren
  • Energieeffiziente Analogsensoren
  • Sensoren mit hoher Auflösung

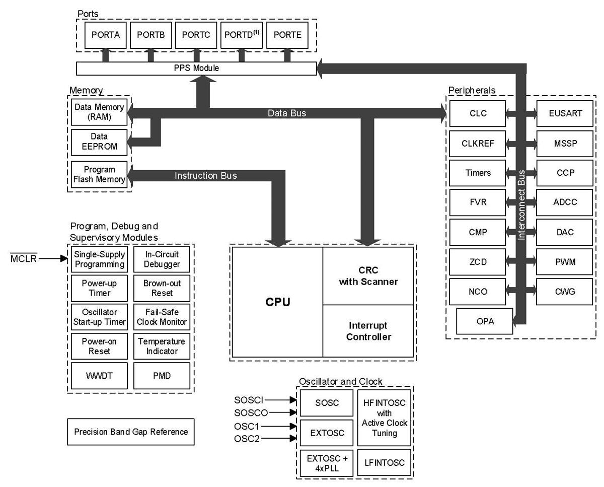
Blockdiagramm

Blockdiagramm - Microchip Technology PIC16F17154/55/74/75 Mikrocontroller
Veröffentlichungsdatum: 2024-10-14 | Aktualisiert: 2025-03-25