Microchip Technology PIC16F1845x 8-Bit-Mikrocontroller
Microchip PIC16F1845x 8-Bit-Mikrocontroller sind zum Kombinieren von intelligenten analogen Core-unabhängigen Pheripherien (CIPs) und Kommunikationsperipherien mit eXtreme Low-Power-Technologie (XLP) ausgelegt. Diese Mikrocontroller bieten flexible Lösungen durch einen 12-Bit-Analog-Digital-Wandler mit Berechnung (ADC²), Speicherzugriffspartitionierung (MAP), Geräteinformationsbereich (DIA) und Peripherie-Pin-Auswahl (PPS). Die PIC16F1845x Mikrocontroller arbeiten in einem Temperaturbereich von -40 °C bis 85 °C und einem Spannungsbereich von 1,8 V bis 3,6 V (PIC16LF1845x) oder 2,3 V bis 5,5 V (PIC16F1845x). Die PIC16(L)F1845x 8-Bit-Mikrocontroller sind in 28-Pin-SPDIP-, SSOP-, SOIC- und VQFN-Gehäusen erhältlich, um die Anforderungen der Entwickler zu erfüllen.Merkmale
- Prozessorkern:
- C-Compiler-optimierte RISC-Architektur
- Nur 50 Anweisungen
- Betriebsgeschwindigkeit:
- DC – 32 MHz Takteingang
- Min. 125 ns Befehlszyklus
- Interrupt-Fähigkeit
- 16-Level-Hardware-Stack
- Timer:
- Bis zu zwei 24-Bit-Timer
- Bis zu vier 8-Bit-Timer
- Bis zu vier 16-Bit-Timer
- Power-On Reset (POR) mit geringem Stromverbrauch
- Konfigurierbarer Power-Up-Timer (PWRT)
- Spannungsabfall-Reset (Brown-Out Reset, BOR)
- Stromsparende BOR-Option (LPBOR)
- Watchdog-Timer mit Fenster (WWDT):
- Variable Vorteilerauswahl
- Variable Fenstergrößenauswahl
- In Hardware (Konfigurationswörter) und/oder Software konfigurierbar
- Programmierbarer Code-Schutz
- Speicher:
- Bis zu 28 KB Flash-Programmspeicher
- Bis zu 2 KB SRAM-Datenspeicher
- 256 B Daten-EEPROM
- Direkte, indirekte und relative Adressmodi
- Speicherzugriff-Partition (MAP):
- Schreibschutz
- Anpassbare Partition
- Geräteinformationsbereich (DIA)
- Gerätekonfigurationsinformationen (DCI)
- eXtreme Low-Power-(XLP)-Technologie:
- Schlafmodus: 50 nA bei 1,8 V typ.
- Watchdog-Timer - 500 nA bei 1,8 V (typ.)
- Sekundäroszillator: 500 nA bei 32 kHz
- Betriebsstrom:
- 8 µA bei 32 kHz, 1,8 V (typ.)
- 32 µA/MHz bei 1,8 V (typ.)
Technische Daten
- Speicherart: Flash
- 28 KB Programmspeichergröße
- CPU-Geschwindigkeit (MIPS/DMIPS): 8
- 2,048 Bytes SRAM
- 256 Bytes Daten-EEPROM/HEF
- Digitale Kommunikationsperipherien:
- 2 x UART
- 2 x SPI
- 2 x I²C
- Capture/Compare/PWM-Peripherien: 5
- 4 x 8-Bit- und 4 x 16-Bit-Timer
- 24-Kanal-12-Bit-ADC-Eingang
- 2 Komparatoren
- Temperaturbereich von -40 °C bis 125 °C
- Betriebsspannungsbereiche:
- PIC16LF18456 bei 1,8 V – 3,6 V
- PIC16F18456 bei 2,3 V – 5,5 V
- 28-Pinzahl
Dokumente
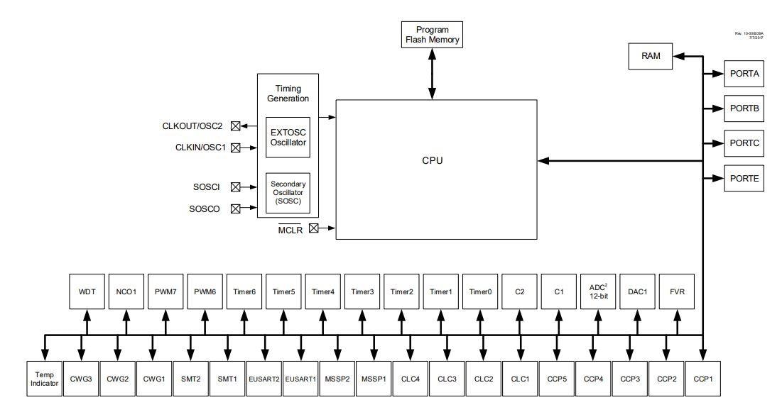
Blockdiagramm
Veröffentlichungsdatum: 2018-08-02
| Aktualisiert: 2022-11-15
