Microchip Technology RNWF02 Add-on-Board
Das Microchip Technology RNWF02 Add-On-Board ist eine effiziente, kostengünstige Entwicklungsplattform zur Evaluierung und Demonstration der Funktionen und des Funktionsumfangs des RNWF02PC stromsparenden Wi-Fi® -Moduls. Dieses Plug-in-Board erfüllt den mikroBUS-Standard und enthält einen MCP2200 On-Board-USB-zu-UART-Wandler, der eine einsatzbereite Evaluierung ermöglicht. Die für die Steuerschnittstelle erforderlichen Signale sind für Flexibilität und schnelles Prototyping mit den On-Board-Steckverbindern des Add-On-Boards verbunden. Das Add-On-Board kann einfach in das Host-Board eingesteckt und über die Host-Mikrocontroller-Einheit (MCU) mit AT-Befehlen über UART gesteuert werden.Merkmale
- RNWF02PC Stromsparendes 2,4 GHz IEEE® 802.11b/g/n-compliant WLAN-Modul
- Wird bei einer 3,3 V-Versorgung entweder über USB-Typ-C® (abgeleitete Standard-3,3 V-Versorgung vom Host-PC) oder über ein Host-Board mit mikroBUS-Schnittstelle betrieben
- Einfache und schnelle Evaluierung mit einem seriellen On-Board-USB-zu-UART-Wandler im PC-Begleitmodus
- Host-Begleitmodus mit mikroBUS Sockel
- Legt den Mikrochip Trust&Go CryptoBLUETOOTH™-IC über eine mikroBUS-Schnittstelle für sichere Applikationen frei
- LED für Leistungsstatusanzeige
- Hardware-Unterstützung für 3-wire PTA-Schnittstelle zur Unterstützung der BLUETOOTH-Koexistenz
Applikationen
- Smart-Fabriken/Steuergeräte
- Sicherheitssysteme und CCTV
- Smart homes/Beleuchtung und Smart Schlösser
- Computer, WLAN-Dongles und Protokollüberbrückung
- Internet of Things (IoT) SensorTags
- Fernbedienungen
- Tragbare Smart-Geräte
- Industrielle Steuerung
Übersicht
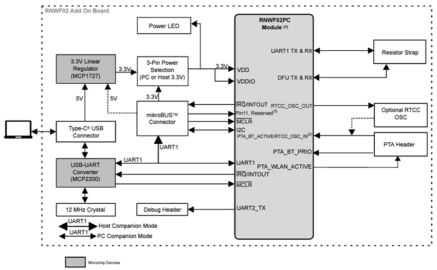
Blockdiagramm
Stromversorgung – Blockdiagramm
Veröffentlichungsdatum: 2024-11-08
| Aktualisiert: 2024-11-15
