Murata Electronics PicoBK™ DC/DC- Wandler der MYRLP- DC-RD/DC Baureihe
Murata Electronics PicoBK™ Die DC/DC-Wandler der Serie MYRLP-F-RD/RE sind synchrone Abwärtswandler, die eine Induktivität und einen Steuer-IC in einem miniaturisierten Gehäuse mit den Abmessungen 2 mm x 2,5 mm x 1 mm integrieren. Eine platzsparende Stromversorgung kann durch Hinzufügen von zwei externen Kondensatoren konfiguriert werden. Diese Wandler verwenden eine Schaltung mit extrem geringem Stromverbrauch und eine PFM-Steuerung, um einen hohen Wirkungsgrad bei geringer Last zu erzielen. Der Betriebsspannungsbereich 1,8 V bis 6 V ermöglicht die Unterstützung von Applikationen die eine intern feste Ausgangsspannung 0,5 V bis 3,60 V erfordern. Murata Electronics PicoBK MYRLP-F-RD/RE DC/DC- Wandler verfügen über eine integrierte Unterspannungsabschaltungsfunktion (UVLO) und sind für den umweltfreundlichen Betrieb kompatibel. Die Baureihe ist außerdem bleifrei, halogenfrei und RoHs-konform.Merkmale
- Integrierte Induktivität in einem Gehäuse
- Für die Rauschdämpfung ausgelegt
- Kompatibel mit Keramikondensator
- Kompatibel mit umweltfreundlichem Betrieb
- Blei- und halogenfrei
- EU-RoHS-konform
Applikationen
- Smart Meter
- Sensor-Module
- Wearables
- Energy Harvesting-Geräte
- Stromsparende HF-Systeme
- Notstromversorgungskreise
- Smartcards
- Geräte mit 1 Litihiumzelle
Technische Daten
- Eingangsspannungsbereich: 1,8 V bis 6,0 V
- Ausgangsspannungeinstellung: 0,5 V bis 3,60 V
- 150 mA Ausgangsstrom
- Versorgungsstrom von 200 nA bei V OUT= 1,8 V
- Wirkungsgrad: 86 % (typisch)
- Abmessungen: 2 mm x 2,5 mm x 1 mm (B x L x H)
Typische Applikations-Schaltung
Typische Leistungsmerkmale
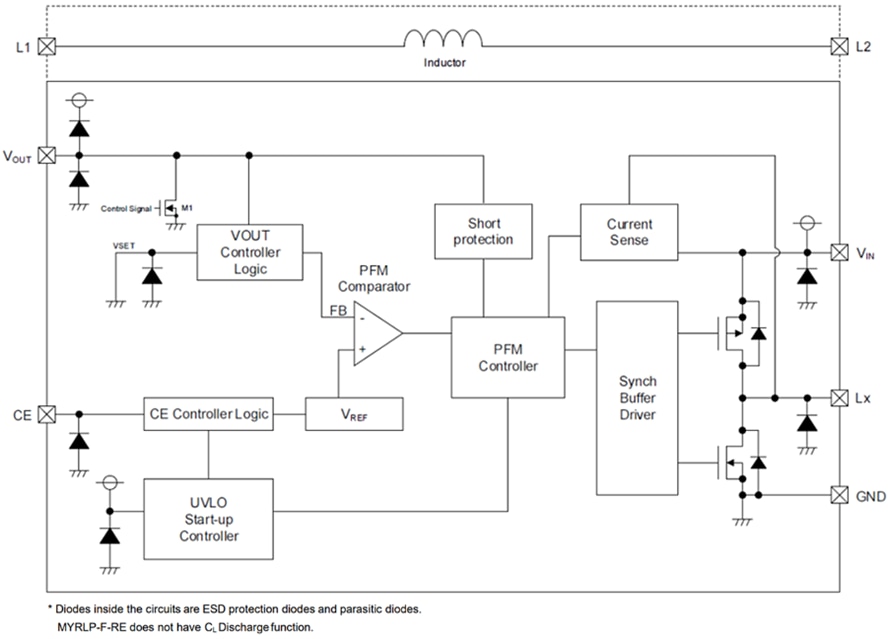
Blockdiagramm
Videos
Veröffentlichungsdatum: 2022-08-29
| Aktualisiert: 2023-08-21
