Nexperia 74AVC1T1004 Fanout-Puffer mit 1-zu-4-Umsetzung
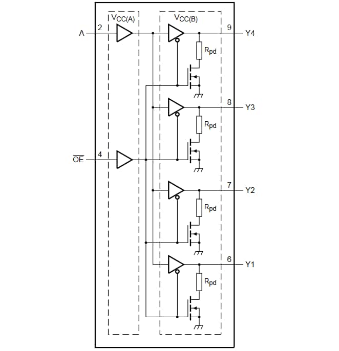
Nexperia 74AVC1T1004 Fanout-Puffer mit 1-zu-4-Umsetzung sind optimal für Taktverteilung und andere tragbare Applikationen. Das Bauteil bietet VCC(A)- und VCC(B)-Dual-Versorgung für Spannungsumsetzung mit vier Datenausgängen (yN), einem Dateneingang (A) und einem Ausgangsfreigabeeingang (OE). Die Doppelversorgungen VCC(A) und VCC(B) können unabhängig voneinander bei jeder Spannung zwischen 0,8 V und 3,6 V geliefert werden. Die Versorgungskonfiguration der Pegel A und OE, die auf VCC(A) bezogen sind, und die Ausgänge Yn, die auf VCC(B) bezogen sind, stellt sicher, dass die aufgefächerten Signale bei der Pegelverschiebung verwendet werden können. Die Pull-Down-Widerstände bewirken, dass ein HOCH auf OE auf NIEDRIG gezogen wird, was dann die Pull-Down-Widerstände trennt und alle Ausgänge aktiviert. Die IOFF-Schaltung verhindert einen schädlichen Rückstrom, indem der Ausgang deaktiviert wird, wenn der 74AVC1T1004 ausgeschaltet wird.Merkmale
- Großer Spannungsversorgungsbereich:
- VCC(A): 0,8 V bis 3,6 V
- VCC(B): 0,8 V bis 3,6 V
- Erfüllt alle JEDEC-Standards:
- JESD8-12 (0,8 V bis 1,3 V)
- JESD8-11 (0,9 V bis 1,65 V)
- JESD8-7 (1,2 V bis 1,95 V)
- JESD8-5 (1,8 V bis 2,7 V)
- JESD8-B (2,7 V bis 3,6 V)
- ESD-Schutz:
- HBM ANSI/ESDA/JEDEC JS-001 Klasse 2 übertrifft 2 kV
- CDM JESD22-C101 übertrifft 1000 V
- Maximale Datenrate:
- 380 Mbit/s (≥1,8 V bis 3,3 V Umsetzung)
- 200 Mbit/s (≥1,1 V bis 3,3 V Umsetzung)
- 200 Mbit/s (≥1,1 V bis 2,5 V Umsetzung)
- 200 Mbit/s (≥1,1 V bis 1,8 V Umsetzung)
- 150 Mbit/s (≥1,1 V bis 1,5 V Umsetzung)
- 100 Mbit/s (≥1,1 V bis 1,2 V Übersetzung)
- Latch-Up-Leistung übertrifft 100 mA gemäß JESD 78, Klasse II
- Die Eingänge akzeptieren Spannungen bis zu 3,6 V
- Spezifiziert von -40 °C bis +85 °C und von -40 °C bis +125 °C
Applikationen
- Tragbare Applikationen
- Set-Top-Box
- Industrie
- Abschirmungsprodukte
- Server/Computer
- Automotive
Blockdiagramm
Veröffentlichungsdatum: 2018-08-31
| Aktualisiert: 2023-03-15
