NXP Semiconductors PF1550 PMICs
NXP Semiconductors PF1550 Integrierte Leistungsmanagement-Schaltkreise (PMICs) sind für den Einsatz mit i.MX Prozessoren auf stromsparenden tragbaren Applikationen, Smart-Wearables und IoT-Applikationen ausgelegt. Diese PMICs bieten ein vollständige Leistungslösung für i.MX 7ULP-, i.MX 6SL-, 6UL-, 6ULL- und 6SX-Prozessoren. Die PF1550 PMICs in Kombination mit drei hocheffizienten Abwärtswandlern, drei Linearreglern, einer RTC-Versorgung und einem Batterielinearladegerät liefern Strom für ein komplettes batteriebetriebenes System. Diese PMICs verfügen über drei benutzerprogrammierbare LDO-Regler, eine I2C-Schnittstelle, eine DDR-Anschluss-Referenzspannung und ein lineares 1A-Li-Ion-Ladegerät. Zu den typischen Applikationen gehören Heimautomatisierung, E-Reader, Smart-Handys, drahtlose Spiele-Controller, IoT und Embedded-Überwachungssysteme.Merkmale
- Eingangsspannungsbereich bis PMIC-VBUSIN-Pin über USB-Bus- oder AC-Adapter (4,1 V bis 6 V)
- Abwärtswandler:
- Interner digitaler Sanftanlauf
- 1 μA Ruhestrom im ULP-Modus mit leichter Last
- Spitzenwirkungsgrad > 90 %
- Dynamische Spannungsskalierung auf SW1 und SW2
- Modi:
- Erzwungene PWM quasi-fester Frequenzmodus
- Adaptiver variabler Frequenzmodus
- Programmierbare Ausgangsspannung, Strombegrenzung und Soft-Start
- LDO-Regler:
- Ruhestrom < 1,5 μA stromsparender Modus
- Programmierbare Ausgangsspannung
- Soft-Start und Rampe
- Strombegrenzungsschutz
- Ladegerät:
- Unterstützt Einzelzellen-Lithium-Ionen-/Lithium-Polymer-Batterien
- Lineares Laden
- Integrierter 50m-Batterie-Isolierungs-MOSFET
- Batterie-Erweiterungsmodus
- Bis zu 3 A Batterieentladungs-Überstromschutz
- Programmierbarer LED-Treiber
- JEITA-konforme Batterietemperaturerkennung und Ladegerätsteuerung
- LDO/Schalter-Versorgung:
- RTC-Versorgung VSNVS 3 V, 2 mA
- Knopfzellen-Ladegerät
- DDR-Speicher-Referenzspannung VREFDDR, 0,5 bis 0,9 V, 10 mA
- OTP-Speicher (One Time Programmable) für Gerätekonfiguration:
- Benutzerprogrammierbare Einschaltsequenz, Timing, Soft-Start und Ausschaltsequenz
- Programmierbare Regler-Ausgangsspannungen und Ladegerät-Parameter
- I2C-Schnittstelle
- Vom Benutzer programmierbarer Standby-, Sleep-, stromsparender und Aus-Modus (REGS_DISABLE)
- Umgebungs-Betriebstemperaturbereich -40 °C bis +105 °C
Applikationen
- Smart-Handys/wearable Geräte
- Stromsparendes IoT
- Drahtloser Spiele-Controller
- Heimautomatisierung
- Embedded Überwachungssysteme
- POS
- E-Reader
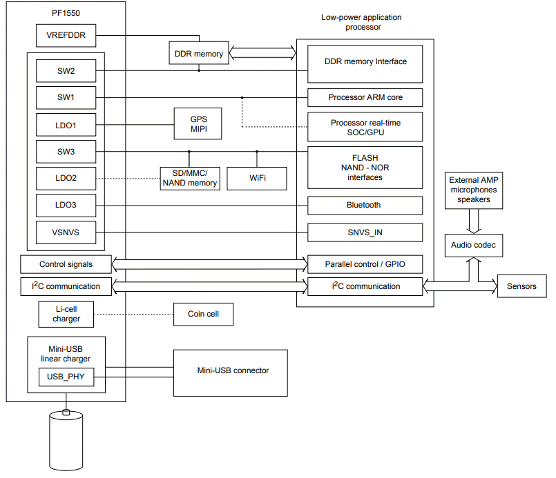
PF1550 PMICs Funktionales Blockdiagramm
PF1550 PMICs Internes Blockdiagramm
PF1550 PMICs Applikations-Schaltung
Veröffentlichungsdatum: 2018-08-07
| Aktualisiert: 2024-11-12
