NXP Semiconductors NXH3670 Drahtlose Gaming-Kopfhörerlösung
NXP Semiconductors NXH3670 Drahtlose Gaming-Kopfhörerlösung ist ein hochintegrierter, stromsparender, drahtloser 2,4-GHz-Transceiver mit geringer Latenz. Das Bauteil verfügt über einen Embedded-MCU und eignet sich zum drahtlosen Audio-Streaming von Gaming-Kopfhörern mit sehr geringer Latenz. Die NXH3670 betreibt ein proprietäres Audio-Streaming-Protokoll, das für Gaming-Kopfhörer-Applikationen optimiert ist. Dies bietet ein Audio-Streaming mit hochwertiger Wiedergabe bei geringer Latenz (<20 ms) zusammen mit einem simultanen Sprachmikrofon-Rückkanal. Zusätzlich ist ein drahtloser Datenkanal verfügbar.Merkmale
- Bluetooth® Low Energy 4.1-zertifiziert mit proprietärer Audio-Streaming-Erweiterung
- Programmierbare TX-Ausgangsleistung von −10 dBm bis +4 dBm in 2-dB-Schritten
- Empfindlichkeit: −90 dBm im Bluetooth LE 2-MBit/s-Modulationsmodus und −94 dBm im Bluetooth LE 1-MBit/s-Modulationsmodus
- Branchenweit niedrigster Stromverbrauch des RX-Stroms von <4 mA bei 1,2 V und des TX-Stroms von <7 mA (0 dBm Ausgangsleistung) bei 1,2 V
- Integrierte Audio-Schnittstellen und Audio-Verarbeitung
- WLCSP-Gehäuse: < 7,25 mm2 mit 34 Bumps
- Geringe Anzahl von externen passiven Bauelementen
- Bleifrei und mit der RoHS-Richtlinie 2011/65/EU (RoHS-2) konform
- Betriebstemperatur: -20 °C bis +85 °C
Applikationen
- Gaming-Kopfhörer
- Kommunikations-Kopfhörer
- Drahtlose Mikrofone
- Drahtlose Lautsprecher
Videos
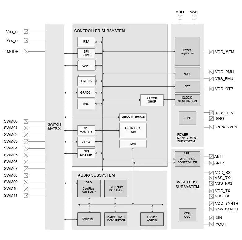
Blockdiagramm
Veröffentlichungsdatum: 2019-02-22
| Aktualisiert: 2023-06-30
