NXP Semiconductors PCA85262 32x4 LCD-Treiber für die Automobilindustrie
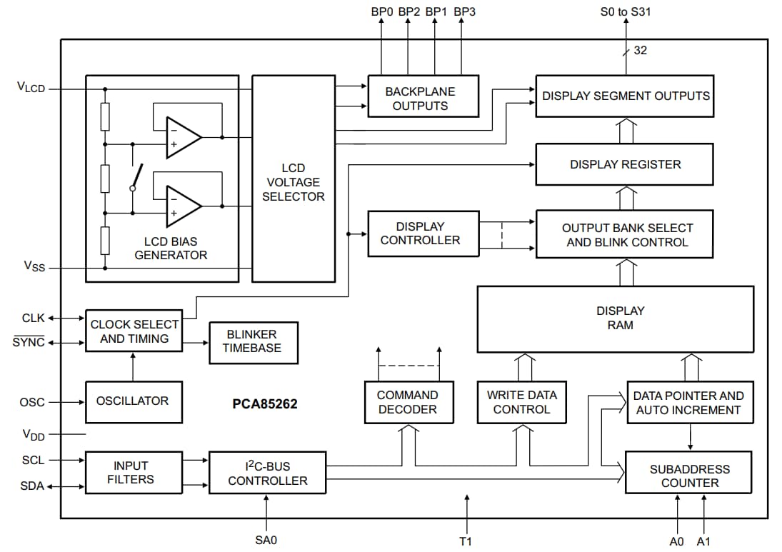
Der NXP PCA85262 32x4 LCD-Segment-Treiber für die Automobilindustrie ist ein Peripheriegerät, das sich mit fast jedem LCD mit niedriger Multiplexrate über eine Schnittstelle verbinden lässt. Erzeugt Treibersignale für beliebige Multiplex-LCD mit bis zur vier Rückwandplatinen und 32 Segmenten. Kann für größere LCD-Anwendugne einfach erweitert werden. Der PCA85262 ist mit den meisten Mikrocontrollern kompatibel und kommuniziert über den bidirektionalen Two-Line- I2C-Bus. Kommunikations-Overheads werden mithilfe eines Display-RAM mit automatisch inkrementierter Adressierung, durch Hardware-Subadressierung und durch Display-Speicher-Umschaltung minimiert (statische und Duplex-Antriebsmodi).Merkmale
- AEC-Q100 grade 2 compliant for automotive applications
- Single-chip LCD controller and driver
- Selectable backplane drive configuration (static, 2, 3, or 4 backplane multiplexing)
- Selectable display bias configuration (static, 1/2, or 1/3)
- Internal LCD bias generation with voltage-follower buffers
- 32 segment drives
- Up to 16 7-segment numeric characters
- Up to 8 14-segment alphanumeric characters
- Any graphics of up to 128 elements
- 32x4-bit RAM for display data storage
- Display memory bank switching in static and duplex drive modes
- Versatile blinking modes
- Independent supplies possible for LCD and logic voltages
- 1.8V to 5.5V wide power supply range
- Wide logic LCD supply range
- From 2.5V for low-threshold LCDs
- Up to 8.0V for guest-host LCDs and high-threshold twisted nematic LCDs
- Low power consumption
- Extended temperature range up to 105°C
- 400kHz I2C-bus interface
- No external components required
- Manufactured in silicon gate CMOS process
Block Diagram
Veröffentlichungsdatum: 2015-04-28
| Aktualisiert: 2022-03-11
