onsemi FL7733A LED-Treiber für primärseitige Regelung
Der LF7733A LED-Treiber für primärseitige Regelung von Fairchild ist ein hochintegrierter PWM-Controller mit fortschrittlicher primärseitig regulierter (PSR) Technik, um die Komponenten in Nieder-bis-Mittelstrom-LED-Beleuchtungswandlern zu minimieren. Dieser LED-Treiber nutzt die innovative TRUECURRENT®-Technik, um einen engen Toleranzkonstantstrom-Ausgang zu bieten und ermöglicht Designs mit einer Konstantstrom- (CC) Toleranz von weniger als ±1% über dem universellen Netzspannungsbereich und erfüllt damit die strengen Anforderungen der LED-Helligkeit. Durch die Minimierung der Einschaltzeit-Schwankungen verfügt der FL7733A über einen hohen Leistungsfaktor und einen niedrigen THD über den universellen Leitungsbereich. Eine integrierte Hochspannungs-Anlaufschaltung realisiert ein schnelles Einschalten und eine hohe Systemeffizienz. Während des Einschaltens errechnet der adaptive Rückkopplungsregelkreis den Beharrungszustand und setzt den anfänglichen Rückkopplungszustand in die Nähe des Beharrungszustands, um sicherzustellen, dass keine Über- oder Unterschwingungen im LED-Strom vorhanden sind. Der FL7733A bietet höchste Systemzuverlässigkeit durch leistungsstarke Schutzvorrichtungen wie LED kurz/offen, Ausgangsdiode kurz, Messwiderstand kurz/offen und Überhitzungsschutz.Merkmale
- ±3% total constant current tolerance over all conditions
- ±1% over universal line voltage variation ±1% from 50% to 100% load voltage variation
- ±1% with ±20% magnetizing inductance variation
- Primary-Side Regulation (PSR) control
- 80VAC to 308VAC application input voltage range
- High PF of 0.9, and low THD of 10% over universal line input range
- Fast 200ms start-up (at 85VAC) using internal high-voltage start-up with VDD regulation
- Adaptive feedback loop control for startup without overshoot
- Protection
- LED short / open protection
- Output diode short protection
- Sensing resistor short / open protection
- VDD Over-Voltage Protection (OVP)
- VDD Under-Voltage Lockout (UVLO)
- Over-Temperature Protection (OTP)
- All Protections are Auto Restart (AR)
- Cycle-by-cycle current limit
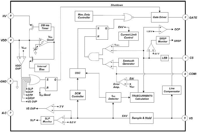
Block Diagram
Application Diagram
Veröffentlichungsdatum: 2014-10-29
| Aktualisiert: 2022-03-11
