onsemi NCV8461 Selbstgeschützter High-Side-Treiber
Der onsemi NCV8461 Selbstgeschützter High-Side-Treiber mit Temperaturabschaltung und Strombegrenzung wird zum Schalten von Lasten wie Solenoiden, Glühbirnen und Aktivierer verwendet. Dieser Treiber verfügt über einen CMOS (3 V/5 V) kompatiblen Steuereingang und eine thermische Abschaltung mit automatischem Neustart. Der NCV8461 High-Side-Treiber verfügt über eine Off-State-Open-Load-Erkennung, einenESD-Schutz, einen sehr niedrigen Standby-Strom, einen Open-Drain-Diagnoseausgang und eine Unterspannungsabschaltfunktion. Dieser Treiber ist bleifrei und AEC-Q100-qualifiziert. Der NCV8461 High-Side-Treiber wird als Ersatz für elektromechanische Relais und diskrete Schaltungen verwendet. Dieser Treiber ist ideal für Industrie- und Fahrzeugapplikationen.Merkmale
- CMOS (3 V/5 V) kompatibler Steuereingang
- Thermische Abschaltung mit automatischem Neustart
- Erkennung von offener Last im Aus-Zustand
- ESD-Schutz
- Sehr niedriger Standby-Strom
- Open-Drain-Diagnoseausgang
- Verlust der Erdung und Verlust des VD-Schutzes
- Verpolungsschutz der Batterie (mit externem Widerstand)
- Unterspannungsabschaltung
- Betriebsspannungsbereich: 5 V bis 34 V
- -40 °C bis 150 °C Betriebstemperaturbereich
- Kurzschluss-Sicherung
- AEC-Q100-qualifiziert
Applikationen
- Schalten Sie ohmsche, induktive und kapazitive Lasten
- Ersetzen Sie elektromechanische Relais und diskrete Schaltungen
- Automobil-Applikationen
- Industrieanforderungen
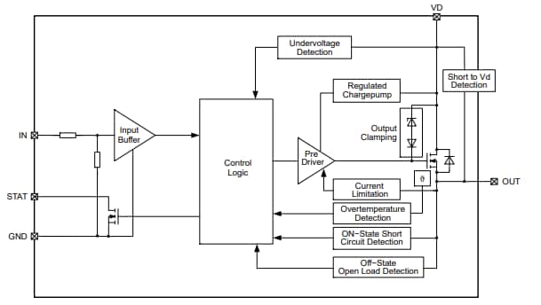
Blockdiagramm
Veröffentlichungsdatum: 2024-12-09
| Aktualisiert: 2024-12-24
