onsemi NUD4700 LED-Shunts
Die LED-Shunts NUD4700 von onsemi sind für die Verwendung mit 1-W-LEDs (Nennstrom von 350 mA bei 3 V) ausgelegt. Diese Shunts bieten einen Strombypass für den Fall, dass eine einzelne LED in einen offenen Stromkreis übergeht. Die LED-Shunts NUD4700 setzen sich automatisch zurück, wenn die LED ausgetauscht oder der Nebenwiderstand geheilt wird. Diese Nebenwiderstände weisen eine typische Spannung im eingeschalteten Zustand von 1 V und einen Strom im ausgeschalteten Zustand von weniger als 250 µA auf. Die LED-Shunts NUD4700 sind gemäß AEC-Q101 zugelassen und PPAP-fähig. Diese Nebenwiderstände sind blei- sowie halogen/BFR-frei und sind RoHs-konform. Typische Anwendungen umfassen LEDs, bei denen vorbeugende Wartung nicht praktikabel ist, LED-Scheinwerfer, LEDs mit hohen Zuverlässigkeitsanforderungen und Überspannungsschutz für Unterbrechungen im Stromkreis.Merkmale
- Ein einfaches Gerät mit zwei Anschlüssen
- Setzen sich automatisch zurück, wenn die LED sich selbst regeneriert oder ausgetauscht wird.
- Durchlassspannung: 1 V (typ.)
- Strom im ausgeschalteten Zustand unter 250 μA
- Erhältlich mit weißem Gehäuse
- Gemäß AEC-Q101 zugelassen und PPAP-fähig.
- Frei von Blei und Halogenen/BFR
- RoHS-konform
Applikationen
- LEDs, bei denen eine präventive Wartung nicht praktikabel ist
- LED-Scheinwerfer
- LEDs mit hohen Zuverlässigkeitsanforderungen
- Überspannungsschutz für Unterbrechungen im Stromkreis
- Überspannungsschutz für empfindliche Schaltungen
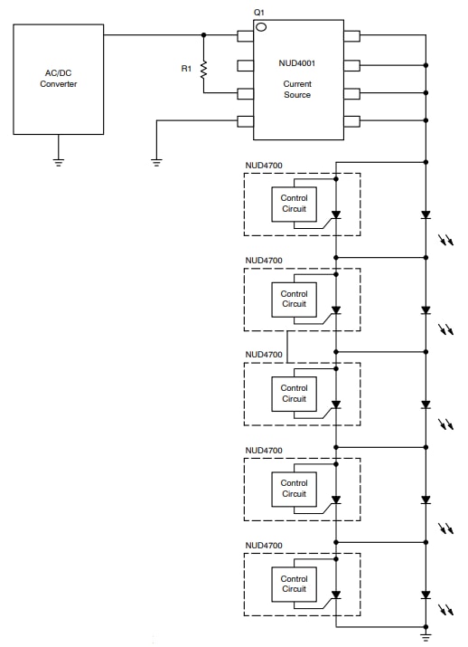
Typische Anwendungsschaltung
Weitere Ressourcen
Veröffentlichungsdatum: 2025-11-10
| Aktualisiert: 2025-11-20
