Renesas Electronics RZ/N1L 32-Bit-Mikrocontroller
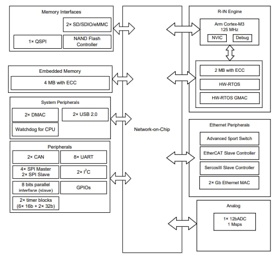
Renesas Electronics RZ/N1L 32-Bit-Mikrocontroller sind eine Embedded-Industriekommunikationslösung, die auf der ARM® Cortex®-A7-Dual-CPU mit 500 MHz und Cortex®-M3 von 125 MHz basiert. Diese MCUs bieten eine RTC-Oszillatorfrequenz von 32 kHz. Die RZ/N1L MCUs verfügen über eine On-Chip-FPU, bis zu 6 Mbyte erweiterten On-Chip-SRAM mit ECC und erweiterter Ethernet-Funktionsumfang, einschließlich erweiterter Ethernet-Schalter mit 5 Anschlüssen. Darüber hinaus verfügen diese MCUs über einen unabhängigen Ethernet-GMAC und Unterstützung für EtherCAT®, Sercos®, Profinet®, ETHERNET Powerlink®, EtherNet/IP™, DLR, PRP und HSR.Merkmale
- ARM Cortex-A7-32-Bit-On-Chip-MPCore:
- Bis zu 500 MHz
- Einzel- oder Dual-Core
- FPU, VFPv4-D16
- MMU
- L1-Cache von 16 KB (Anweisung)/16 KB (Daten) pro Core
- L2-Cache bis zu 256 KB
- ARM Cortex-M3-32-Bit-On-Chip-Prozessor:
- Bis zu 125 MHz
- Unterstützte Speicherschutzeinheit (Memory Protection Unit, MPU)
- Stromsparende Funktionen:
- Takt-Gating-Management
- Taktfrequenz-Skalierung
- Erweiterter On-Chip-SRAM:
- Bis zu 6 MB mit ECC
- Datenübertragung:
- 2 x DMAC mit je 8 Kanälen
- Speicherschnittstellen:
- Bis zu 2 x Quad-SPI/XIP
- NAND-Flash mit erweitertem ECC-Management
- 16-Bit-DDR-Schnittstelle (DDR2-500/DDR3-1000)
- Bis zu 2 x SD/SDIO/eMMC
- R-IN-Engine:
- ARM Cortex-M3-CPU
- Hardware-RTOS-Beschleuniger (HW-RTOS)
- Hardware-Ethernet-Beschleuniger
- Erweiterte Echtzeit-Ethernet-Funktionen:
- SercosIII Slave-Controller
- EtherCAT Slave-Controller mit 3 Anschlüssen
- Erweiterter Schalter mit 5 (4 + 1) Anschlüssen (A5PSW)
- Schalter mit 5 Anschlüssen mit QoS und IEEE1588
- Bis zu 5-GBit-Anschlüsse
- PRP-konform mit IEC62439-3 Ed2.0-2012 (Option)
- Schalter mit 5 Anschlüssen mit QoS und IEEE1588
- HSR-konform mit IEC62439-3 Ed2.0-2012 (Option)
- Bis zu 2 unabhängige GMAC und IEEE1588
- Bis zu 5 externe Anschlüsse mit MII/RMII/RGMII
Weitere Ressourcen
Blockdiagramm
Veröffentlichungsdatum: 2020-10-14
| Aktualisiert: 2023-05-31
